Запчасти Case 721E (08-40) - TANDEM PUMP ASSEMBLY - FRONT (08) - HYDRAULICS

Схема запчастей Case 721E - (08-40) - TANDEM PUMP ASSEMBLY - FRONT (08) - HYDRAULICS
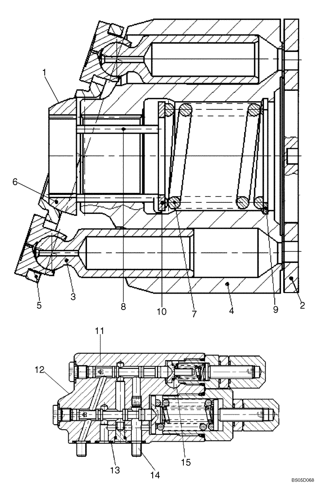
9
10
13
2
3
11
7
8
6
14
4
15
1
5
FIT
1:1
100%

Артикул

Название

Примечание

Количество

8602845

HYDRAULIC PUMP

Front; Incl. 1-15; Also Incl. Parts on Figure 08-39

1шт.

8602848

HYDRAULIC VALVE

Rotary Group; Incl. 1, 2

1шт.

1

8602868

HYDRAULIC VALVE

Rotary Group; Incl. 3 - 10

1шт.

2

8602869

PLATE

Distribution

1шт.

3

8602870

PISTON

Complete

9шт.

4

8602871

BODY

Cylinder

1шт.

5

8602872

RETAINING PLATE

1шт.

6

8602873

BALL

Retaining

1шт.

7

8602874

SPRING

1шт.

8

8604953

PIN

Pressure

3шт.

9

8602875

RING

Seeger-V-Ring

1шт.

10

8602876

DISC

Thrust

1шт.

11

8604960

CONTROL VALVE

Pilot; Incl. 12 - 15

1шт.

12

8602844

HYDRAULIC VALVE

Pilot; Not Illustrated

1шт.

13

8604965

O-RING,1.78mm Thk x 7.65mm ID, -11, 70 Duro

3шт.

14

8604964

HEX SOC SCREW,M6 x 30mm, Cl 10.9

Socket M6 x 30

4шт.

15

8604963

PLUG

M12 x 1.5

1шт.

Выбрано товаров: 17