Запчасти Case 721E (08-42) - TANDEM PUMP ASSEMBLY - REAR (08) - HYDRAULICS

Схема запчастей Case 721E - (08-42) - TANDEM PUMP ASSEMBLY - REAR (08) - HYDRAULICS
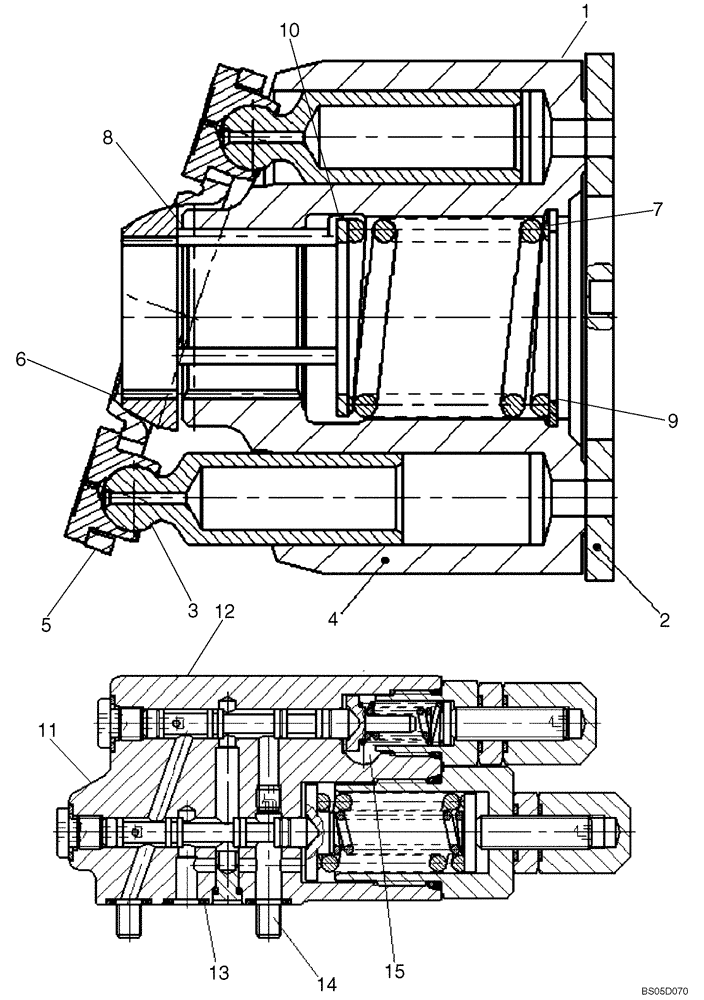
3
12
7
6
10
9
8
2
14
1
4
5
11
13
15
FIT
1:1
100%

Артикул

Название

Примечание

Количество

8602811

HYDRAULIC PUMP

Rear, Incl. Ref. 1-15; Also Incl. Parts on Fig. 08-40

1шт.

8602815

PISTON

Rotary Group Pump; Incl. 1 - 2

1шт.

1

8602834

HYDRAULIC PUMP

Rotary Group; Incl. 3 - 10

1шт.

2

8602835

PLATE

Distributor

1шт.

3

8602836

PISTON

Complete

9шт.

4

8602837

CYLINDER

1шт.

5

8602838

RETAINING PLATE

Retaining

1шт.

6

8602839

BALL

Retaining

1шт.

7

8602840

SPRING

1шт.

8

8602841

PIN

Pressure

1шт.

9

8602842

RING

Seerger-V-Ring

1шт.

10

8602843

DISC

Thrust

1шт.

11

8604960

CONTROL VALVE

Pilot; Incl. 12 - 15

1шт.

12

8602844

HYDRAULIC VALVE

Pilot

1шт.

13

8604965

O-RING,1.78mm Thk x 7.65mm ID, -11, 70 Duro

7,65 x 1,78

3шт.

14

8604964

HEX SOC SCREW,M6 x 30mm, Cl 10.9

M6 x 30; 10,9; Socket

4шт.

15

8604963

PLUG

M12 x 1,5

1шт.

Выбрано товаров: 17