Запчасти Case 721E (09-24) - FRAME, REAR - PLATE, SKID (09) - CHASSIS

Схема запчастей Case 721E - (09-24) - FRAME, REAR - PLATE, SKID (09) - CHASSIS
2
8
9
13
6
12
4
3
4
6
5
15
1
1
7
10
FIT
1:1
100%

Артикул

Название

Примечание

Количество

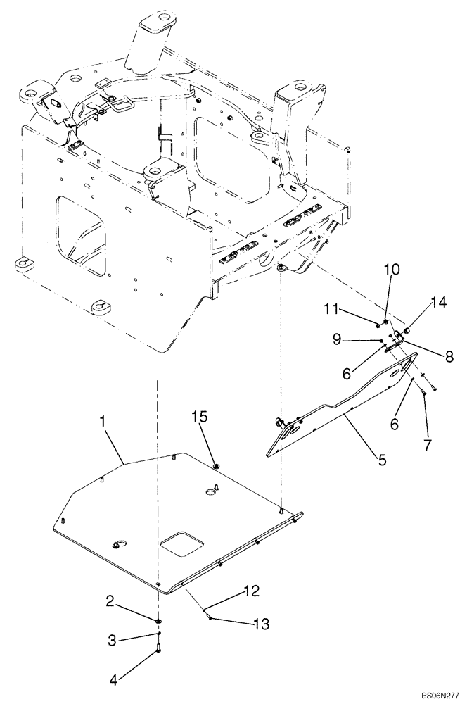
1

87593940

SKID PLATE

Black

1шт.

2

896-15012

WASHER,13.5mm ID x 28mm OD x 4mm Thk

7шт.

3

892-11012

LOCK WASHER,M12

7шт.

4

627-12040

BOLT,Hex, M12 x 1.75 x 40mm, Cl 10.9, Full Thd

7шт.

5

87593942

SKID PLATE

Black

1шт.

6

895-15008

WASHER,9mm ID x 20mm OD x 1.6mm Thk

8шт.

7

627-8035

BOLT,Hex, M8 x 1.25 x 35mm, Cl 10.9, Full Thd

Replaces 614-8025, 627-8030 Bolts Used On Some Models

4шт.

8

87593947

BRACKET

Black

2шт.

9

832-10408

NUT,M8 x 1.25, Cl 8.8

4шт.

10

896-15010

WASHER,11mm ID x 24mm OD x 3mm Thk

2шт.

11

832-10410

NUT,M10 x 1.5, Cl 8

2шт.

12

892-11008

LOCK WASHER,8mm ID

4шт.

13

627-8030

BOLT,Hex, M8 x 1.25 x 30mm, Cl 10.9, Full Thd

Replaces 627-8025 Bolts Used On Some Models

4шт.

14

372947A1

SPACER

2шт.

15

496-81022

WASHER

2шт.

Выбрано товаров: 15