Запчасти Case 721E (09-30) - FENDERS, FRONT - BSN N8F203756 (09) - CHASSIS

Схема запчастей Case 721E - (09-30) - FENDERS, FRONT - BSN N8F203756 (09) - CHASSIS
11
9
9
10
5
10
6
9
3
8
1
9
4
2
12
4
9
13
FIT
1:1
100%

Артикул

Название

Примечание

Количество

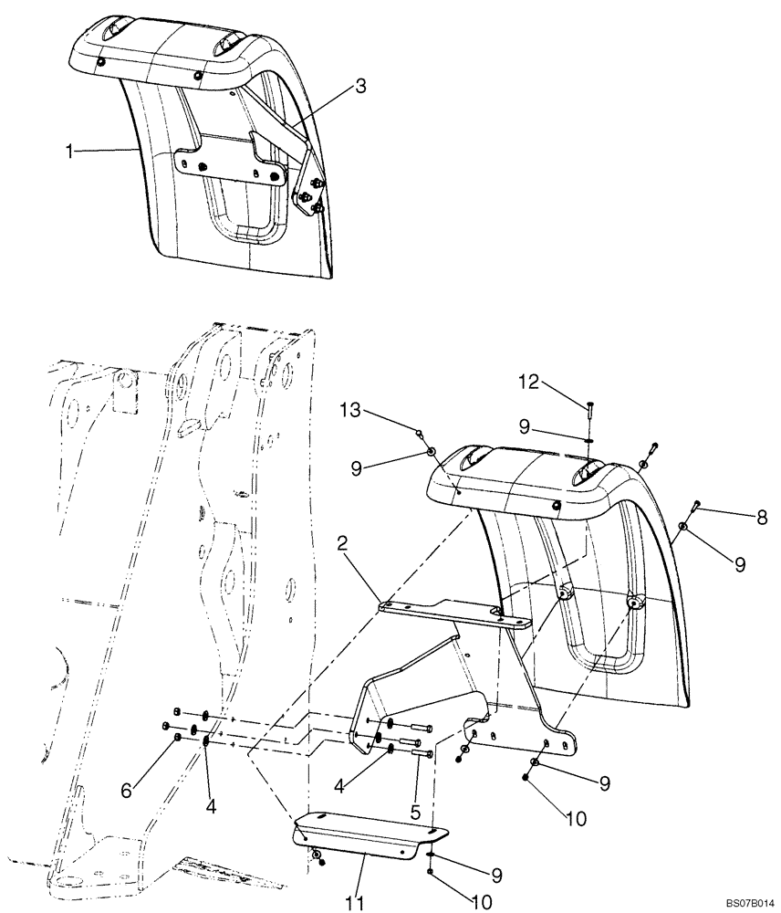
1

87355957

FENDER

If Used

2шт.

2

87355960

BRACKET

Fender; LH

1шт.

3

87355962

BRACKET

Fender; RH

1шт.

4

896-15012

WASHER,13.5mm ID x 28mm OD x 4mm Thk

12шт.

5

827-12050

BOLT,Hex, M12 x 1.75 x 50mm, Cl 10.9

6шт.

6

829-1412

NUT,M12, Cl 10.9

6шт.

8

627-8035

BOLT,Hex, M8 x 1.25 x 35mm, Cl 10.9, Full Thd

4шт.

9

895-25008

WASHER,9mm ID x 24mm OD x 2mm Thk

Replaces 896-15008 Washer Used On Some Models

24шт.

10

832-10408

NUT,M8 x 1.25, Cl 8.8

8-12шт.

11

87620991

BRACKET

Fender; If Used

2шт.

12

827-8040

BOLT,Hex, M8 x 1.25 x 40mm, Cl 10.9

4шт.

13

627-8030

BOLT,Hex, M8 x 1.25 x 30mm, Cl 10.9, Full Thd

4шт.

Выбрано товаров: 12