Запчасти Case 721E (02-16) - TURBOCHARGER SYSTEM (02) - ENGINE

Схема запчастей Case 721E - (02-16) - TURBOCHARGER SYSTEM (02) - ENGINE
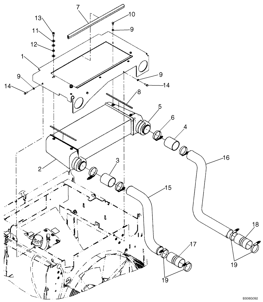
14
1
6
9
5
14
9
9
11
12
4
19
17
10
15
3
19
16
7
2
8
18
13
FIT
1:1
100%

Артикул

Название

Примечание

Количество

1

87381953

PLATE ASSY.

Mounting

1шт.

2

347613A1

AFTERCOOLER

Charge Air

1шт.

3

87572375

HOSE,76.2mm ID x 89mm L

89 mm (3 - 1/2 in); Air Intake, Replaces 87340628

1шт.

4

87572378

HOSE

89 mm (3 - 1/2 in); Air Intake, Replaces 87340629

1шт.

5

8500167

SEAL

Air Tubes

2шт.

6

L115549

CLAMP,69.85mm - 92.08mm

8шт.

7

8500144

SEAL

2шт.

8

8500143

FOAM INSULATION,9mm W x 290mm L x 3mm Thk

2шт.

9

892-11008

LOCK WASHER,8mm ID

6шт.

10

627-8016

BOLT,Hex, M8 x 1.25 x 16mm, Cl 10.9, Full Thd

2шт.

11

895-15010

WASHER,11mm ID x 24mm OD x 2mm Thk

6шт.

12

386040R1

SPRING

Poppet Return

2шт.

13

561-703

HEX SOC SCREW,M8 x 32.4, 10 x 16mm shldr, Cl 12.9

2шт.

14

627-8025

BOLT,Hex, M8 x 1.25 x 25mm, Cl 10.9, Full Thd

4шт.

15

8605799

AIR INTAKE TUBE,76.20 OD x 344, 473 mm L

1шт.

16

8605800

AIR INTAKE TUBE,76.20 mm OD x 453, 631 mm L

1шт.

17

87340284

INTAKE AIR HOSE,76.20mm ID x 129mm L

1шт.

18

87340015

INTAKE AIR HOSE,76.20mm ID x 140mm L

1шт.

19

L115549

CLAMP,69.85mm - 92.08mm

Hose

4шт.

Выбрано товаров: 19