Запчасти Case 721E (09-75) - HEATING HOSES (09) - CHASSIS

Схема запчастей Case 721E - (09-75) - HEATING HOSES (09) - CHASSIS
11
6
4
6
9
5
3
1
7
10
6
4
2
FIT
1:1
100%

Артикул

Название

Примечание

Количество

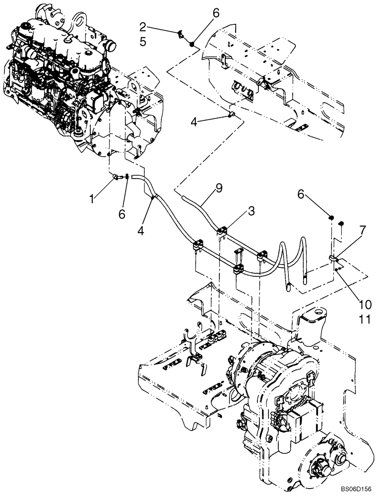
1

217-425

45 ELBOW,5/8" Hose Barb x 3/4" NPTF

1шт.

2

301803R1

SHUT-OFF VALVE

1шт.

3

367489A1

BLOCK

4шт.

4

515-24238

CLAMP,15/16", Insul, 7/16" Bolt

4шт.

5

345-87

SEALANT

Loctite 592

1шт.

6

1954736C1

HOSE CLAMP,#24

2шт.

7

9603626

CLAMP

2шт.

8

1975801C1

HEATER HOSE,15.50 mm ID x 2743.00 mm

Heater Supply

1шт.

9

R55242

HEATER HOSE,15.50 mm ID x 2550.00 mm

Return

1шт.

10

895-11008

WASHER,9mm ID x 16mm OD x 1.6mm Thk

1шт.

11

829-1410

NUT,M10 x 1.5, Cl 10.9

1шт.

Выбрано товаров: 11