Запчасти Case 721E (09-76) - AIR CONDITIONING - MOUNTING (09) - CHASSIS

Схема запчастей Case 721E - (09-76) - AIR CONDITIONING - MOUNTING (09) - CHASSIS
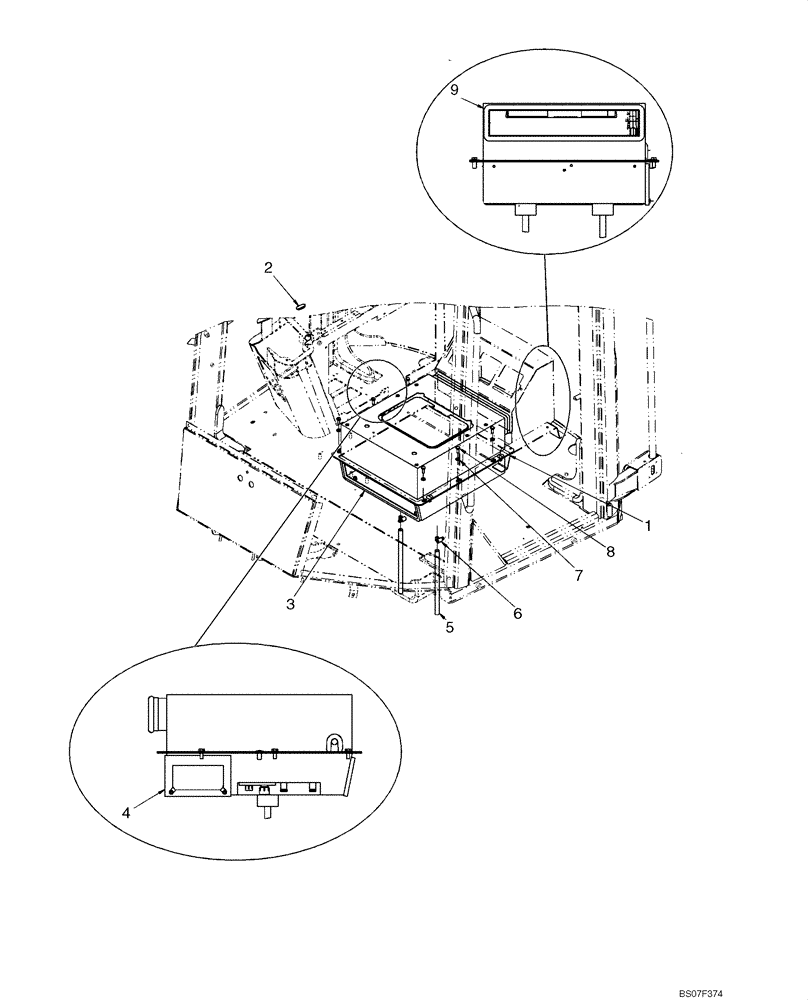
3
4
8
5
1
2
6
9
7
FIT
1:1
100%

Артикул

Название

Примечание

Количество

1

87706152

AIR CONDITIONER

HVAC Unit; Production Number Only, Order Component Parts; Replaces Air Conditioner 76303592; See Figure 09-77

1шт.

2

76047278

PLUG

If Used

1шт.

2

353-411

PLUG,Dome, 1.000" hole, Nylon

If Used

1шт.

3

76303496

GASKET,10mm Thk

1шт.

4

76303497

GASKET

1шт.

5

87587637

PLASTIC-RUBBER TUBE

2шт.

6

214-1406

HOSE CLAMP,#06, 0.44" - 0.78", Type F Worm

If Used

2шт.

6

214-1704

HOSE CLAMP,#04, 0.25" - 0.62", Type M Worm

If Used

2шт.

7

895-11008

WASHER,9mm ID x 16mm OD x 1.6mm Thk

6шт.

8

614-8020

BOLT,Hex, M8 x 1.25 x 20mm

6шт.

9

87651073

SEAL

1шт.

Выбрано товаров: 0