Запчасти Case 821E (08-22) - VALVE, CONTROL - MOUNTING, TWO & THREE SPOOL (Z-BAR LOADER) (08) - HYDRAULICS

Схема запчастей Case 821E - (08-22) - VALVE, CONTROL - MOUNTING, TWO & THREE SPOOL (Z-BAR LOADER) (08) - HYDRAULICS
3
5a
5
4
2a
5
4
1
4a
2
3a
5b
3
1
2
2a
5b
FIT
1:1
100%

Артикул

Название

Примечание

Количество

REF

INSTRUCTION

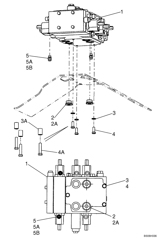
TWO AND THREE SPOOL VALVE MOUNTING

1шт.

1

87539282

VALVE

Three Spool; Z-Bar Loader Valve; See Figure 08-31, 08-32

1шт.

1

87539278

VALVE

Two Spool; Z-Bar Loader Valve; See Figure 08-31, 08-32

1шт.

2

86583482

HEX SOCKET PLUG,M33 x 2

Incl. 2A, Replaces 221527A1, If Used

2шт.

2a

86639046

O-RING,2.9mm Thk x 29.6mm ID, Cl 6, 90 Duro

Boss Seal, Replaces 637-64296

1шт.

3

896-11012

WASHER,13.5mm ID x 24mm OD x 3mm Thk

If Used

3шт.

3a

A27328

SPACER

If Used

3шт.

4

627-12030

BOLT,Hex, M12 x 1.75 x 30mm, Cl 10.9, Full Thd

If Used

3шт.

4a

827-12055

BOLT,Hex, M12 x 1.75 x 55mm, Cl 10.9

If Used

3шт.

REF

INSTRUCTION

USED WITH THREE SPOOL VALVE ONLY

1шт.

5

700-101

HYD CONNECTOR,11/16" - 16 Male ORFS x M14 x 1.5 Male ORB

Incl. 5A, 5B

3шт.

5a

637-63113

O-RING,2.2mm Thk x 11.3mm ID, Cl 6

1шт.

5b

238-6012

O-RING,0.07" Thk x 0.364" ID, -12, Cl 6, 90 Duro

Face Seal

1шт.

Выбрано товаров: 13