Запчасти Case 821E (08-26) - PUMP ASSY (08) - HYDRAULICS

Схема запчастей Case 821E - (08-26) - PUMP ASSY (08) - HYDRAULICS
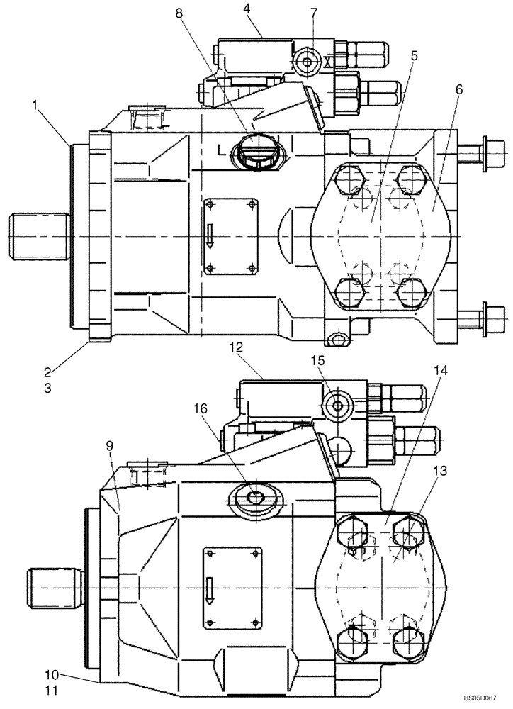
5
8
1
16
13
14
6
9
3
11
12
15
7
10
2
4
FIT
1:1
100%

Артикул

Название

Примечание

Количество

87332520

HYDRAULIC PUMP

Front Variable Displacement Pump; Incl. Refs. 1 - 8

1шт.

87332520R

REMAN-HYD PUMP

821E TIER 3 (8/06-)

1шт.

87332520C

CORE-HYDRAULIC PUMP

Return Number

1шт.

87665103

SEAL KIT

Complete Front Pump Seal Kit

1шт.

1

87358529

PUMP

Incl. 2, 4; See figure 08-27

1шт.

2

NSS

NOT SOLD SEPARAT

Base Unit; Includes 3; See Figure 08-27

1шт.

3

87358498

ROTARY DIVIDER

Rotary Group; See Figure 08-27, 08-28

1шт.

4

8604960

CONTROL VALVE

See Figure 08-28

1шт.

5

8602812

COVER

Flange Assembly; Includes Flange, Gasket and 4 Screws

1шт.

6

8602846

COVER

Flange Assembly; Includes Flange, Gasket and 4 Screws

1шт.

7

8604962

SCREW

Seal

1шт.

8

8604961

SCREW

Seal

1шт.

87332521

HYDRAULIC PUMP

Rear Variable Displacement Pump; Incl. Refs. 9-16

1шт.

87332521R

REMAN-HYD PUMP

821E TIER 3 (8/06-)

1шт.

87332521C

CORE-HYDRAULIC PUMP

Return Number

1шт.

9

NSS

NOT SOLD SEPARAT

Incl. 10, 12

1шт.

87665103

SEAL KIT

Complete Pump Seal Kit

1шт.

10

NSS

NOT SOLD SEPARAT

Base Unit; Includes 11; See Figure 08-29

1шт.

11

87358498

ROTARY DIVIDER

Rotary Group; See Figure 08-28, 08-29

1шт.

12

8604960

CONTROL VALVE

See Figure 08-28

1шт.

13

8602812

COVER

Flange Assembly; Includes Flange, Gasket and 4 Screws

1шт.

14

8602846

COVER

Flange Assembly; Includes Flange, Gasket and 4 Screws

1шт.

15

8604962

SCREW

Seal

1шт.

16

8604961

SCREW

Sealing

1шт.

Выбрано товаров: 0