Запчасти Case 821E (08-28) - PUMP ASSY (08) - HYDRAULICS

Схема запчастей Case 821E - (08-28) - PUMP ASSY (08) - HYDRAULICS
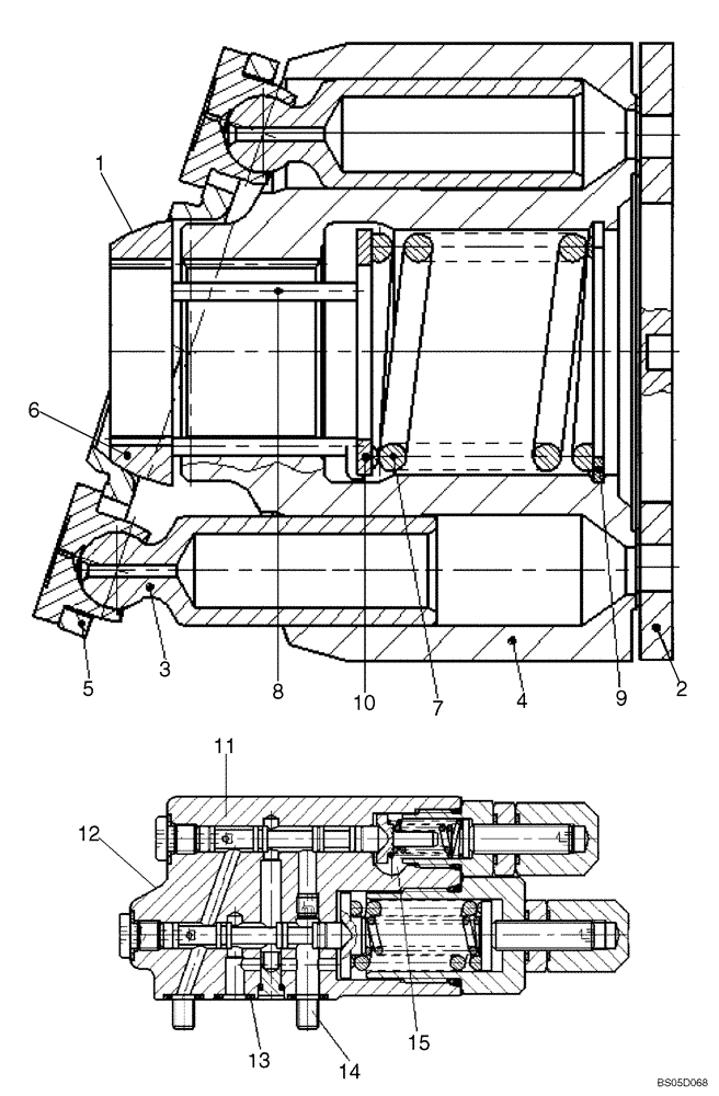
4
7
3
9
11
13
5
12
8
1
2
10
14
15
6
FIT
1:1
100%

Артикул

Название

Примечание

Количество

87358498

ROTARY DIVIDER

Rotary Group; Incl. 1, 2

1шт.

1

87358518

ROTARY DIVIDER

Rotary Group; Incl. 3 - 10

1шт.

2

8602869

PLATE

Distribution

1шт.

3

8602870

PISTON

Complete

9шт.

4

87358521

CYLINDER

1шт.

5

8602872

RETAINING PLATE

1шт.

6

87358522

BALL

BALL Retaining

1шт.

7

8602874

SPRING

1шт.

8

8604953

PIN

Pressure

3шт.

9

8602875

RING

Seeger-V-Ring

1шт.

10

8602876

DISC

Thrust

1шт.

REF

INSTRUCTION

CONTROL VALVE

1шт.

11

8604960

CONTROL VALVE

Pilot; Incl. 12 - 15

1шт.

12

8602844

HYDRAULIC VALVE

Pilot; Not Illustrated

1шт.

13

8604965

O-RING,1.78mm Thk x 7.65mm ID, -11, 70 Duro

7.65 x 1.78

3шт.

14

8604964

HEX SOC SCREW,M6 x 30mm, Cl 10.9

Socket

4шт.

15

8604963

PLUG

1шт.

Выбрано товаров: 0