Запчасти Case 821E (02-13) - OIL PUMP, PAN (02) - ENGINE

Схема запчастей Case 821E - (02-13) - OIL PUMP, PAN (02) - ENGINE
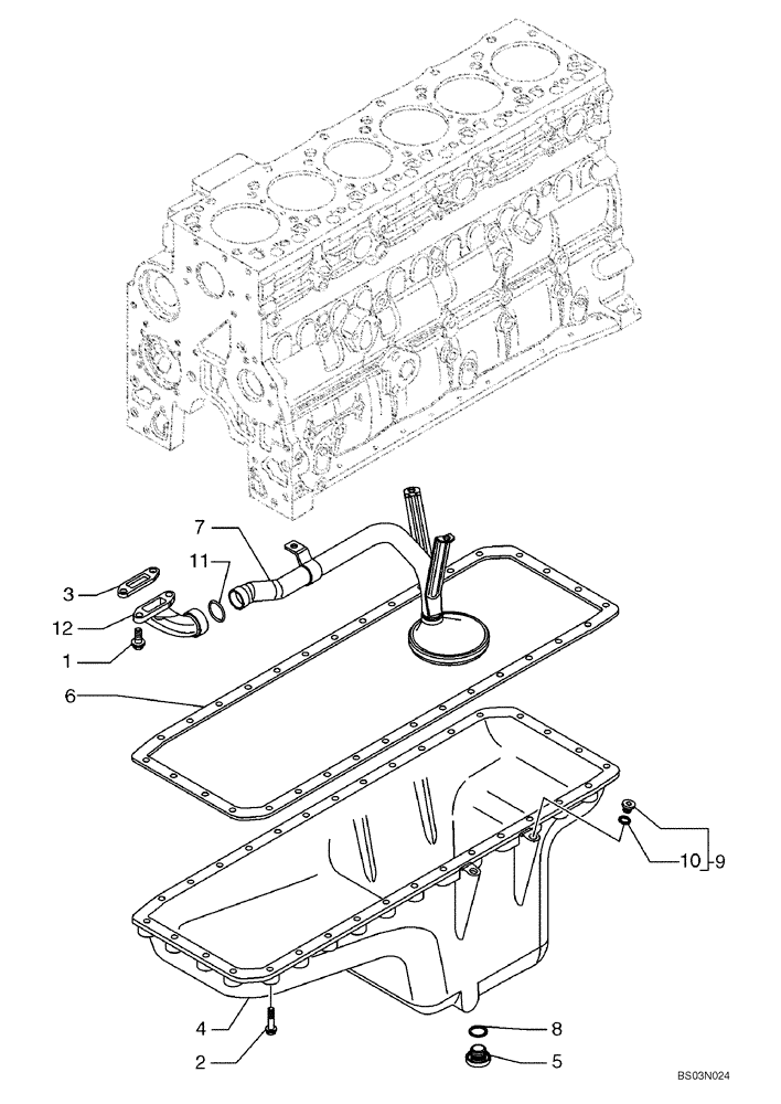
9
11
6
12
1
5
2
10
7
4
8
3
FIT
1:1
100%

Артикул

Название

Примечание

Количество

1

18138424

SCREW,Hex Flg, M8 x 1.25 x 20mm

2шт.

2

4899019

SCREW,Hex Flg, M8 x 1.25 x 35

32шт.

3

4898301

GASKET,0.42mm Thk

1шт.

4

2852419

ENGINE OIL PAN

1шт.

5

4894139

PLUG,Hex Soc, M22 x 1.5

1шт.

6

2852420

OIL PAN GASKET SET

1шт.

7

2852770

STRAINER ELEMENT

Oil Suction, Incl. Ref. 7A

1шт.

7a

2852217

SIEVE

ASSY, Gasket And Gauze Oil Strainer, Not Illustrated

1шт.

8

2853728

O-RING,M23.47 ID x 2.62 Thk

1шт.

9

4897330

HEX SOCKET PLUG,M12 x 1.5

- Assy; Incl. Ref 10

1шт.

10

4895610

O-RING,2.2mm Thk x 9.3mm ID

1шт.

11

2852237

SEALING RING

26.64 ID x 2.62

1шт.

12

2852238

ELBOW

1шт.

Выбрано товаров: 13