Запчасти Case 821E (09-06) - BUCKETS - ATTACHMENT (Z BAR LOADER) (09) - CHASSIS

Схема запчастей Case 821E - (09-06) - BUCKETS - ATTACHMENT (Z BAR LOADER) (09) - CHASSIS
12d
6
2
9
8
11
7
12a
3
12c
10
12
9
11
9
10
5
11
4
10
12b
1
FIT
1:1
100%

Артикул

Название

Примечание

Количество

REF

INSTRUCTION

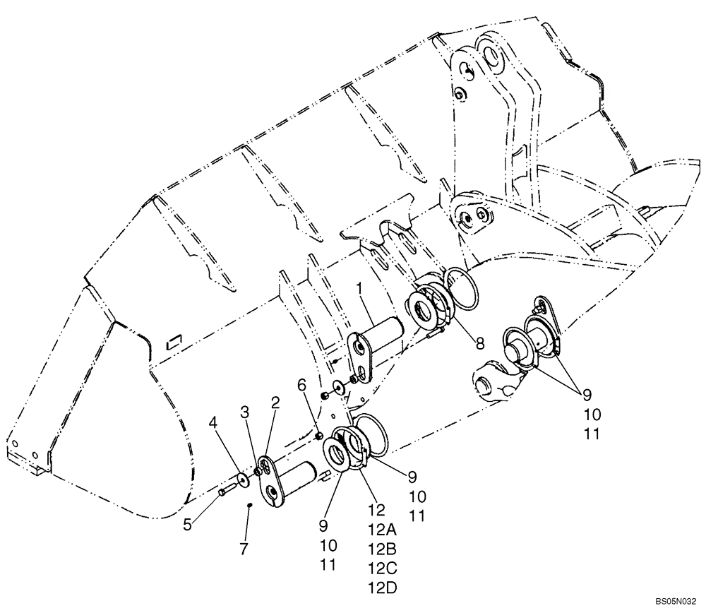
Z-BAR LOADER

1шт.

1

87516018

HEADED PIN,88.9mm OD x 210mm L

Bucket

1шт.

2

87516014

HEADED PIN,82.55mm OD x 214mm L

Lift Arm

2шт.

3

L125100

SPACER,17.48mm ID x 31.75mm OD x 14.3mm Thk

3шт.

4

496-81025

WASHER,21/32" x 2 1/2" x .188", HDN

3шт.

5

827-16070

BOLT,Hex, M16 x 2 x 70mm, Cl 10.9

3шт.

6

832-10416

NUT,M16 x 2, Cl 8

3шт.

7

219-1

LUBE NIPPLE,1/8" - 27 NPTF

3шт.

8

87642053

WASHER,91mm ID x 170mm OD x 3.5mm Thk

3.5 mm Thk, 91 mm ID; Replaces L128721 90 mm ID Washer Used on Some Models

1шт.

9

L118834

WASHER,83.8mm ID x 152mm OD x 3.7mm Thk

Shim; 76.6ID; 3.5 Thk

1шт.

10

441824A1

WASHER

Shim; 83.9 ID; 2.5 Thk

1шт.

11

441823A1

WASHER

Shim; 83.9 ID; 1.6 Thk

1шт.

12

87309174

O-RING,167mm ID

Incl. 12A - 12D

2шт.

12a

NSS

NOT SOLD SEPARAT

O-RING Split; 167mm ID

1шт.

12b

814-6080

BOLT,Hex, M6 x 1 x 80mm, Cl 8.8

1шт.

12c

895-11006

WASHER,6.6mm ID x 12mm OD x 1.6mm Thk

1шт.

12d

832-10406

NUT,M6 x 1, Cl 8

1шт.

Выбрано товаров: 17