Запчасти Case 821E (09-08) - LOADER BUCKET - WITH TEETH, SEGMENTS AND SKID PADS/COUPLERS (09) - CHASSIS

Схема запчастей Case 821E - (09-08) - LOADER BUCKET - WITH TEETH, SEGMENTS AND SKID PADS/COUPLERS (09) - CHASSIS
10
13
5
9
12
4
12
1
11
7
7
8
11
6
2
3
12
9
11
8
13
13
FIT
1:1
100%

Артикул

Название

Примечание

Количество

1

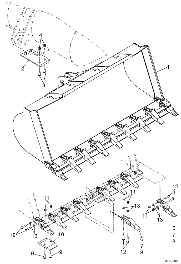
87386779

BUCKET

BUCKET ASSEMBLY;3.25 Cubic Meters ( 4.25 Cubic Yards ); Order From Whole Goods; Incl. 2-13

1шт.

1

87386745

BUCKET

BUCKET ASSEMBLY; 2.68 Cubic Meters ( 3.5 Cubic Yards ); Order From Whole Goods; Incl. 2-13

1шт.

1a

REF

INSTRUCTION

BUCKET ASSEMBLY, 87390436; JRB COUPLER; 2.68 Cubic Meters ( 3.5 Cubic Yards ); Order From Whole Goods; Incl. 2 - 13; Not Illustrated

1шт.

1a

REF

INSTRUCTION

BUCKET ASSEMBLY, 87390443; ACS COUPLER; 2.68 Cubic Meters ( 3.5 Cubic Yards ); Order From Whole Goods; Incl. 2 - 13; Not Illustrated

1шт.

REF

INSTRUCTION

BOLT ON SKID PAD

1шт.

1a

REF

INSTRUCTION

BUCKET ASSEMBLY, 87728757; CNH COUPLER; 2.68 Cubic Meters ( 3.5 Cubic Yards ); Order From Whole Goods; Incl. 2 - 13; Not Illustrated

1шт.

2

8500180

SKID PLATE

Bottom; Bolt On

2шт.

3

420-21236

CARRIAGE BOLT,#3, 3/4" - 10 x 2 1/4", Gr 8

8шт.

4

425-1612

NUT,3/4"-10, G5, Hvy

8шт.

REF

INSTRUCTION

BUCKET TEETH AND CUTTING EDGE SEGMENTS

1шт.

254813A1

BUCKET TOOTH

Center; Incl. 6, 7, 8

7шт.

8501200

BUCKET TOOTH

Corner; Incl. 5, 7, 8

2шт.

5

NSS

NOT SOLD SEPARAT

Shank; Corner

1шт.

6

NSS

NOT SOLD SEPARAT

Shank; Center

1шт.

7

254815A1

PIN

1шт.

8

254814A1

BUCKET TOOTH

1 x 4; 8; Standard

1шт.

8

254816A1

BUCKET TOOTH

Abrasion; Not Illustrated

1шт.

8

254817A1

BUCKET TOOTH

Penetration; Not Illustrated

1шт.

9

L125966

PLOW BOLT,#3, Dome Hd, 1" - 8 x 3.50", Gr 8

16шт.

10

87306910

CUTTING EDGE

8шт.

11

429-1016

NUT,1"-8, G8

34шт.

12

426-1664

BOLT,Hex, 1" - 8 x 4", Gr 8

18шт.

13

496-21106

WASHER,1 1/16" x 2" x .209", HDN

18шт.

Выбрано товаров: 23