Запчасти Case 821E (09-23) - FENDERS, REAR - STEPS (09) - CHASSIS

Схема запчастей Case 821E - (09-23) - FENDERS, REAR - STEPS (09) - CHASSIS
24
24
12
25
4
20
21
7
25
10
6
23
5
5
19
17
7
6
1
9
2
15
23
19
9
4
8
13
16
18
12
14
11
3
22
9
21
FIT
1:1
100%

Артикул

Название

Примечание

Количество

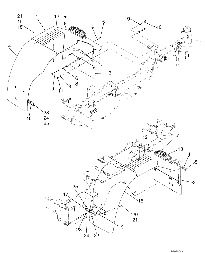
FENDERS REAR WIDE - NORTH AMERICAN MODELS

1шт.

1

87569006

SUPPORT

LH Platform

1шт.

2

87569007

SUPPORT

RH Platform

1шт.

3

87327561

MUDFLAP

Rear

2шт.

4

895-11010

WASHER,11mm ID x 20mm OD x 2mm Thk

24шт.

5

627-10030

BOLT,Hex, M10 x 1.5 x 30mm, Cl 10.9, Full Thd

12шт.

6

39519

WASHER,10.31mm ID x 34.9mm OD x 3.57mm Thk

Zinc

8шт.

7

832-10410

NUT,M10 x 1.5, Cl 8

12шт.

8

627-10040

BOLT,Hex, M10 x 1.5 x 40mm, Cl 10.9, Full Thd

4шт.

9

896-11016

WASHER,17.5mm ID x 30mm OD x 4mm Thk

12шт.

10

827-16070

BOLT,Hex, M16 x 2 x 70mm, Cl 10.9

4шт.

11

829-1416

NUT,M16, Cl 10

4шт.

12

D55216

PAD,2" x 9"

12шт.

13

87434475

STEP

Gray

2шт.

14

87346956

FENDER

Rear; Wide; LH

1шт.

15

87346957

FENDER

Rear; Wide; RH

1шт.

16

87362314

BRACKET

Fender; Rear; Wide LH

1шт.

17

87362315

BRACKET

Fender; Rear; Wide RH

1шт.

18

612-6

CARRIAGE BOLT,M8 x 30mm, Class 4.6

6шт.

19

895-25008

WASHER,9mm ID x 24mm OD x 2mm Thk

10шт.

20

896-15008

WASHER,9mm ID x 21mm OD x 2.5mm Thk

4шт.

21

832-10408

NUT,M8 x 1.25, Cl 8.8

10шт.

22

627-8030

BOLT,Hex, M8 x 1.25 x 30mm, Cl 10.9, Full Thd

4шт.

23

896-11012

WASHER,13.5mm ID x 24mm OD x 3mm Thk

8шт.

24

627-12035

BOLT,Hex, M12 x 1.75 x 35mm, Cl 10.9, Full Thd

4шт.

25

829-1412

NUT,M12, Cl 10.9

4шт.

Выбрано товаров: 26