Запчасти Case 821E (02-16) - TURBOCHARGER SYSTEM (02) - ENGINE

Схема запчастей Case 821E - (02-16) - TURBOCHARGER SYSTEM (02) - ENGINE
19
14
9
9
5
14
10
8
17
2
6
16
3
18
11
12
7
1
4
13
9
15
19
FIT
1:1
100%

Артикул

Название

Примечание

Количество

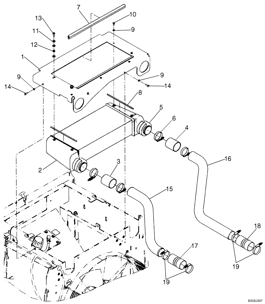
1

87311897

PLATE

Mounting

1шт.

2

87311864

COOLER ASSY.

Charge Air

1шт.

3

87572375

HOSE,76.2mm ID x 89mm L

89 mm ( 3 1/2 in ), Air Intake; Replaces 87340628

1шт.

4

87572378

HOSE

89 mm ( 3 1/2 in ), Air Intake; Replaces 87340629

1шт.

5

8500167

SEAL

Air Tubes

2шт.

6

L115549

CLAMP,69.85mm - 92.08mm

2шт.

7

8500144

SEAL

2шт.

8

8500143

FOAM INSULATION,9mm W x 290mm L x 3mm Thk

2шт.

9

892-11008

LOCK WASHER,8mm ID

6шт.

10

627-8016

BOLT,Hex, M8 x 1.25 x 16mm, Cl 10.9, Full Thd

2шт.

11

895-15010

WASHER,11mm ID x 24mm OD x 2mm Thk

6шт.

12

386040R1

SPRING

Poppet Return

2шт.

13

561-703

HEX SOC SCREW,M8 x 32.4, 10 x 16mm shldr, Cl 12.9

2шт.

14

627-8025

BOLT,Hex, M8 x 1.25 x 25mm, Cl 10.9, Full Thd

4шт.

15

87652312

AIR INTAKE TUBE,76.2 mm OD x 391 mm L

Replaces 87304060

1шт.

16

87652313

AIR INTAKE TUBE,76.2 mm OD x 676 mm L

Replaces 87304061

1шт.

17

87340284

INTAKE AIR HOSE,76.20mm ID x 129mm L

Charge Air

1шт.

18

87340015

INTAKE AIR HOSE,76.20mm ID x 140mm L

1шт.

19

L115549

CLAMP,69.85mm - 92.08mm

4шт.

Выбрано товаров: 19