Запчасти Case 821E (09-76) - AIR CONDITIONING - CONDENSER (09) - CHASSIS

Схема запчастей Case 821E - (09-76) - AIR CONDITIONING - CONDENSER (09) - CHASSIS
14
7
10
2
7
1a
2
13
12
9
13
12
15
3
1
4
8
6
5
11
5
FIT
1:1
100%

Артикул

Название

Примечание

Количество

REF

INSTRUCTION

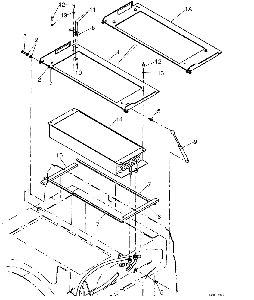
AIR CONDITIONING CONDENSER MOUNTING

1шт.

1

8602725

PLATE

Condenser, W/ Bracket For Gas Strut; No Longer Available, Order 84180092 Plate, Ref. 1A; Gas Strut and Studs Will No Longer Be Used If 84180092 Plate Is Ordered, Serial Range: -n9f206878

1шт.

1a

84180092

PLATE

PLATE, Without Bracket For Gas Strut, Start Serial: n9f206878

1шт.

2

895-18010

WASHER,10.5mm ID x 18mm OD x 1.6mm Thk

6шт.

3

561-703

HEX SOC SCREW,M8 x 32.4, 10 x 16mm shldr, Cl 12.9

2шт.

4

832-10408

NUT,M8 x 1.25, Cl 8.8

2шт.

5

350662A1

STUD

Ball; If Used, Serial Range: -n9f206878

2шт.

6

8602498

SEALING STRIP,25mm W x 294mm L x 13mm Thk

1шт.

7

8500133

OIL SEAL

Oil Cooler; Side

2шт.

8

60-4640T1

LATCH

1шт.

9

252550A2

GAS STRUT

Cylinder; If Used, Serial Range: -n9f206878

1шт.

10

225-14108

NUT,#8-32

2шт.

11

440-1088

SCREW,Cross Pan Hd, #8-32 x 1/2"

2шт.

12

627-8020

BOLT,Hex, M8 x 1.25 x 20mm, Cl 10.9, Full Thd

4шт.

12

627-8016

BOLT,Hex, M8 x 1.25 x 16mm, Cl 10.9, Full Thd

4шт.

13

892-11008

LOCK WASHER,8mm ID

4шт.

14

8500878

CONDENSER

Air Conditioning

1шт.

15

87432328

SEAL

1шт.

Выбрано товаров: 18