Качественные детали и логистика
Оригинальные и аналоговые запчасти с доставкой по России, Казахстану и Беларуси
©2022 PartSell ООО "Система" ИНН 2463123282 ОГРН 1212400004838
Центральный офис: г. Красноярск, Академика Киренского, д.87, пом.4
Телефон: 8 (800) 777-65-74 Email: zakaz@partsell.ru
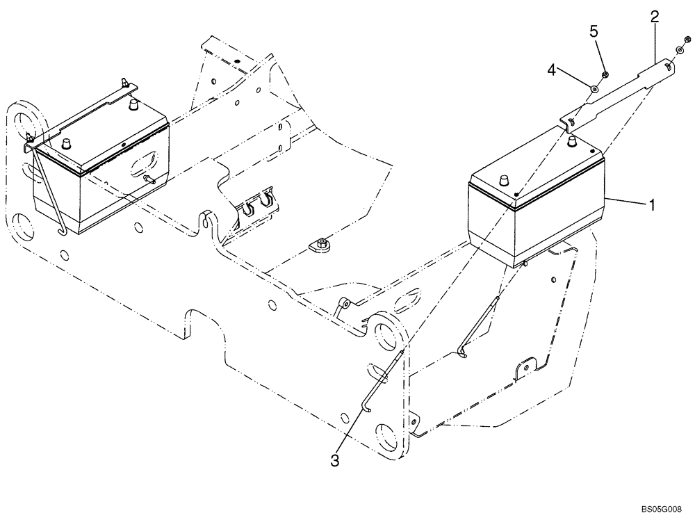
(04-05) - BATTERY
№
Артикул
Название
Примечание
Количество
1
BMF31EW
WET BATTERY
For US Only
2шт.
CCMF31EW
For Canada Only
2
365191A1
STRAP
Used With 700 Amp Battery
3
365357A1
ROD
Hold Down
4шт.
4
895-15008
WASHER,9mm ID x 20mm OD x 1.6mm Thk
5
832-10408
NUT,M8 x 1.25, Cl 8.8
Выбрано товаров: 0