Запчасти Case 921E (06-23A) - HYDRAULICS - OIL FILTER - COOLER (06) - POWER TRAIN

Схема запчастей Case 921E - (06-23A) - HYDRAULICS - OIL FILTER - COOLER (06) - POWER TRAIN
4a
10
4
6
6
4
17a
24
14
15
9b
20
14
27a
2
13
8
10b
14b
4
23
29
22
11b
4a
28
17b
14a
11a
25
18
19
14a
12
2
19
9
16
21
5
1
2
2
17
26
7
2
9a
11
10a
14b
3
27
7
5
FIT
1:1
100%

Артикул

Название

Примечание

Количество

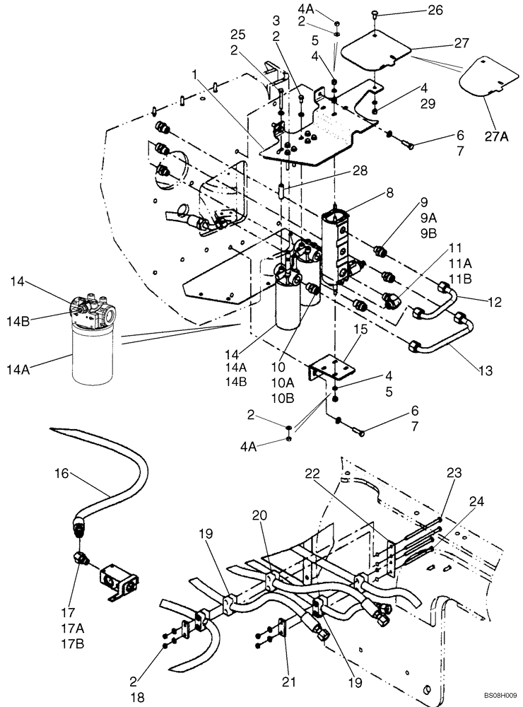
1

87593010

BRACKET

Axle Cooler Mount

1шт.

2

896-11010

WASHER,11mm ID x 21mm OD x 2.5mm Thk

12-16шт.

3

627-10020

BOLT,Hex, M10 x 1.5 x 20mm, Cl 10.9, Full Thd

8шт.

4

832-10410

NUT,M10 x 1.5, Cl 8

If Used

4шт.

4a

832-46410

NUT,M10 x 1.5, Cl 8

If Used

4шт.

5

892-11010

LOCK WASHER,M10

If used

4шт.

6

627-12040

BOLT,Hex, M12 x 1.75 x 40mm, Cl 10.9, Full Thd

5шт.

7

896-11012

WASHER,13.5mm ID x 24mm OD x 3mm Thk

5шт.

8

87492034

HYDRAULIC PUMP

Cooling Unit; Replaces 87567861

1шт.

9

700-107

HYD CONNECTOR,1-3/16" - 12 Male ORFS x M22 x 1.5 Male ORB

Incl. 9A, 9B

2шт.

9a

238-6018

O-RING,0.07" Thk x 0.739" ID, -18, Cl 6, 90 Duro

Face Seal

1шт.

9b

637-63193

O-RING,2.2mm Thk x 19.3mm ID, Cl 6, 90 Duro

Boss

1шт.

10

700-104

HYD CONNECTOR,1-3/16" - 12 Male ORFS x M27 x 2 Male ORB

Incl. 10A, 10B

2шт.

10a

238-6021

O-RING,15/16 X 1 - 1/16, Cl 6

Face Seal

1шт.

10b

637-64236

O-RING,2.9mm Thk x 23.6mm ID, Cl 6, 90 Duro

Boss

1шт.

11

700-307

ELBOW,90 Degree Elbow, 1-3/16" - 12 Male ORFS x M27 x 2 Male ORB

Incl. Ref. 11A, 11B

1шт.

11a

238-6016

O-RING,0.07" Thk x 0.614" ID, -16, Cl 6, 90 Duro

Face Seal

1шт.

11b

637-64236

O-RING,2.9mm Thk x 23.6mm ID, Cl 6, 90 Duro

Boss

1шт.

12

87546197

HYD TUBE,0.625" OD

Pump to Filter Top; 978 mm ( 38 - 1/2 in. )

1шт.

13

87585530

HYD TUBE,0.75" OD

Pump to Filter Bottom; 271 ( 10 - 2/3 in. )

1шт.

14

87529364

FILTER

ASSY. Axle Oil; Incl. Refs. 14A - 14B, Filter Head Not Serviced Separately

2шт.

14a

294721A1

HYDRAULIC OIL FILTER

Cartridge, Axle Oil

2шт.

14b

8604802

PRESSURE SWITCH

Indicator

2шт.

15

87593013

BRACKET

2шт.

16

87585534

HOSE ASSY.

Pump to Return; 1616mm ( 63 - 2/3 in. )

1шт.

17

700-316

ELBOW,45 Degree Elbow, 1" - 14 Male ORFS x M22 x 1.5 Male ORB

Incl. Refs. 17A, 17B

1шт.

17a

238-6016

O-RING,0.07" Thk x 0.614" ID, -16, Cl 6, 90 Duro

Face Seal

1шт.

17b

637-63193

O-RING,2.2mm Thk x 19.3mm ID, Cl 6, 90 Duro

Boss

1шт.

18

829-1410

NUT,M10 x 1.5, Cl 10.9

4шт.

19

367489A1

BLOCK

2шт.

20

372453A1

BLOCK

3шт.

21

367658A1

PLATE

2шт.

22

87546223

PLATE

1шт.

23

814-10180

BOLT,Hex, M10 x 1.5 x 180mm, Cl 8.8

2шт.

24

814-10140

BOLT,Hex, M10 x 1.5 x 140mm, Cl 8.8

2шт.

25

827-10080

BOLT,Hex, M10 x 1.5 x 80mm, Cl 10.9

4шт.

26

811-10025

CARRIAGE BOLT,Sht Sq Nk, M10 x 1.5 x 25mm, Cl 8.8

1шт.

27

87593011

COVER

If Used

1шт.

27a

87534157

COVER

Washer Bottle, If Used

1шт.

28

87585536

SPACER

4шт.

29

895-18010

WASHER,10.5mm ID x 18mm OD x 1.6mm Thk

1шт.

Выбрано товаров: 41