Запчасти Case 921E (06-23C) - HYDRAULICS - REAR AXLE - COOLER (06) - POWER TRAIN

Схема запчастей Case 921E - (06-23C) - HYDRAULICS - REAR AXLE - COOLER (06) - POWER TRAIN
3
6
2
8
20b
20
8a
13
19
20a
20a
20b
4
1
17b
21
16a
4a
11
4
21
9
7
18
16
12
17
3a
20
10
15
17a
5
14
FIT
1:1
100%

Артикул

Название

Примечание

Количество

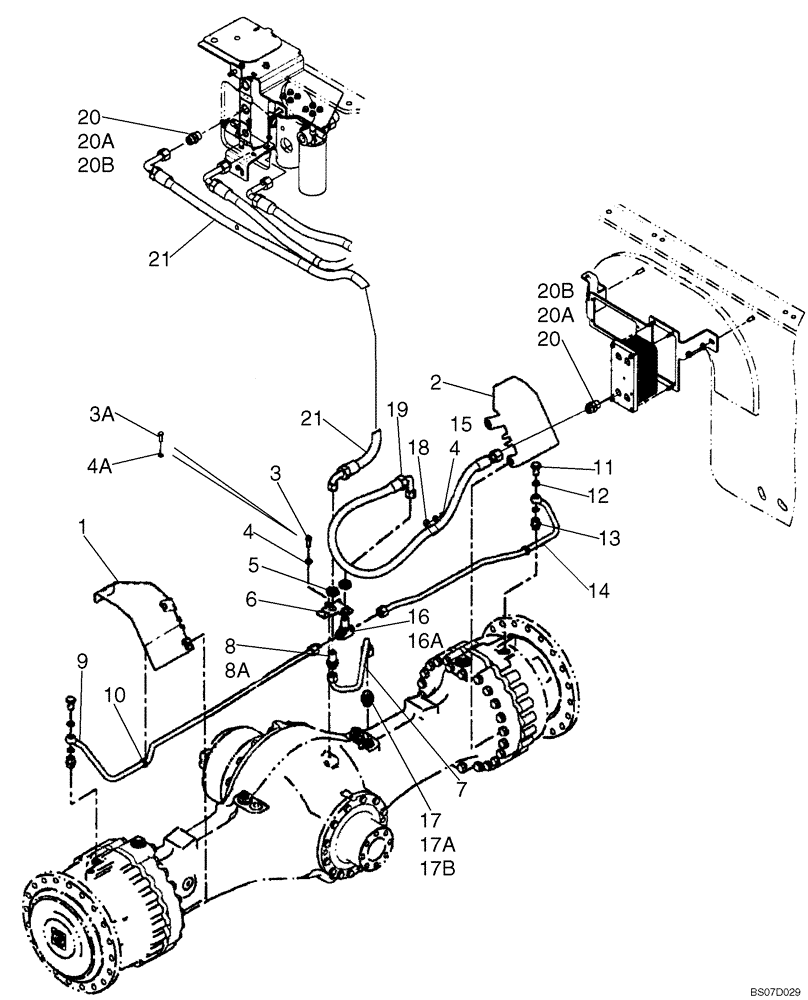
1

87546222

BRACKET

1шт.

2

87546221

BRACKET

1шт.

3

627-10030

BOLT,Hex, M10 x 1.5 x 30mm, Cl 10.9, Full Thd

If Used

1шт.

3a

627-8025

BOLT,Hex, M8 x 1.25 x 25mm, Cl 10.9, Full Thd

If Used

1шт.

4

896-11010

WASHER,11mm ID x 21mm OD x 2.5mm Thk

If Used

2шт.

4a

892-11008

LOCK WASHER,8mm ID

If Used

1шт.

5

701-919

BHD LOCK NUT,1" - 14

2шт.

6

87529186

BRACKET

1шт.

7

87590247

HYD TUBE,0.625" OD

Check Valve to Middle; 363 mm ( 14 - 1/3 in. )

1шт.

8

701-123

UNION,1" - 14 Male ORFS x 1" - 14 Male ORFS

Incl. Ref. 8A

1шт.

8a

238-6016

O-RING,0.07" Thk x 0.614" ID, -16, Cl 6, 90 Duro

Face Seal

2шт.

9

87546197

HYD TUBE,0.625" OD

Axle Rear LH; 1174 mm ( 46 - 1/4 in. )

1шт.

10

248-2375

GROMMET,5/8" ID x 7/8" Groove Dia, Str Cut

2шт.

11

5100984

BANJO BOLT,M18 x 1.5, 34mm L

2шт.

12

3051337R1

SEALING RING,M18 x 24mm OD x 1.5mm Thk

4шт.

13

87546208

ADAPTER

M18 x M24

2шт.

14

87546195

HYD TUBE,0.625" OD

Axle Rear RH; 1029 mm ( 40 - 1/2 in. )

1шт.

15

832-10410

NUT,M10 x 1.5, Cl 8

1шт.

16

701-454

TEE,1" - 14 Male ORFS x 1" - 14 Male ORFS x 1" - 14 Male ORFS

Incl. Ref. 16A

1шт.

16a

238-6016

O-RING,0.07" Thk x 0.614" ID, -16, Cl 6, 90 Duro

Face Seal

3шт.

17

87526208

CHECK VALVE

Incl. Refs. 17A, 17B

1шт.

17a

238-6018

O-RING,0.07" Thk x 0.739" ID, -18, Cl 6, 90 Duro

Face Seal

1шт.

17b

637-63193

O-RING,2.2mm Thk x 19.3mm ID, Cl 6, 90 Duro

Boss

1шт.

18

515-24302

CLAMP,1 3/16", Insul, 7/16" Bolt

1шт.

19

87567865

HOSE ASSY.

Rear Cooler to Rear Axle; 1429 mm (56 - 1/4 in.)

1шт.

20

700-104

HYD CONNECTOR,1-3/16" - 12 Male ORFS x M27 x 2 Male ORB

Incl. 20A, 20B

2шт.

20a

238-6018

O-RING,0.07" Thk x 0.739" ID, -18, Cl 6, 90 Duro

Face Seal

1шт.

20b

637-64236

O-RING,2.9mm Thk x 23.6mm ID, Cl 6, 90 Duro

Boss

1шт.

21

87555345

HOSE,19.05mm ID x 1887mm L, SAE 100R1

Rear Axle Section; 1887 mm ( 74 - 1/4 in )

1шт.

Выбрано товаров: 0