Запчасти Case 921E (07-04) - HYDRAULICS - BRAKE PUMP ASSY (07) - BRAKES

Схема запчастей Case 921E - (07-04) - HYDRAULICS - BRAKE PUMP ASSY (07) - BRAKES
14
22
16
21
26
30
3
10
25
31
8
6
27
24
17
2
13
18
33
7
15
29
11
9
4
20
12
5
1
32
19
23
28
FIT
1:1
100%

Артикул

Название

Примечание

Количество

87526207

PUMP,37.03 CC

Brake; Incl. Refs. 1 - 33; For Pump to Transmission O-Ring, Order 87582615

1шт.

87526207R

REMAN-HYD PUMP

921E TIER 3 (2/07-)

1шт.

87526207C

CORE-HYDRAULIC PUMP

Return Number

1шт.

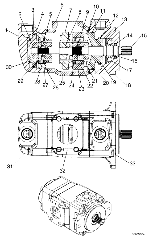
1

87596141

CAP COVER

1шт.

2

87596142

PORT

1шт.

3

87596143

SEAL

1шт.

4

87596144

BACK-UP RING

1шт.

5

87596145

IMPELLER

12шт.

6

87596146

HOUSING

1шт.

7

87596147

PORT

Rear

1шт.

8

87596148

BUSHING

1шт.

9

87596149

PIN

Vane Holdout

24шт.

10

87596150

SEAL

Square Section

1шт.

11

87596151

BACK-UP RING

1шт.

12

87596152

SEAL

Square Section

1шт.

13

87596153

RING

Retaining

1шт.

14

87596154

SEAL

1шт.

15

87596155

SHAFT

1шт.

16

87596156

RING

Round Section

2шт.

17

87596157

BALL BEARING

1шт.

18

87596158

CAP

1шт.

19

87596159

PORT

Plate

1шт.

20

87596160

SEAL

Square Section

1шт.

21

87596175

ROLL PIN

2шт.

22

87596176

IMPELLER

12шт.

23

87596177

RING

1шт.

24

87596178

ROTOR

1шт.

25

87596179

PIN

1шт.

26

87596180

O-RING

1шт.

27

87596181

RING

1шт.

28

87596182

ROTOR

1шт.

29

87596183

ROLL PIN

1шт.

30

87596184

SEAL

Square Section

1шт.

31

87596185

SCREW

4шт.

32

87596186

SCREW

2шт.

33

87596187

SCREW

4шт.

Выбрано товаров: 0