Запчасти Case 921E (08-07) - HYDRAULICS - OIL COOLER MOUNTING (08) - HYDRAULICS

Схема запчастей Case 921E - (08-07) - HYDRAULICS - OIL COOLER MOUNTING (08) - HYDRAULICS
1
2
4
3
5
FIT
1:1
100%

Артикул

Название

Примечание

Количество

REF

INSTRUCTION

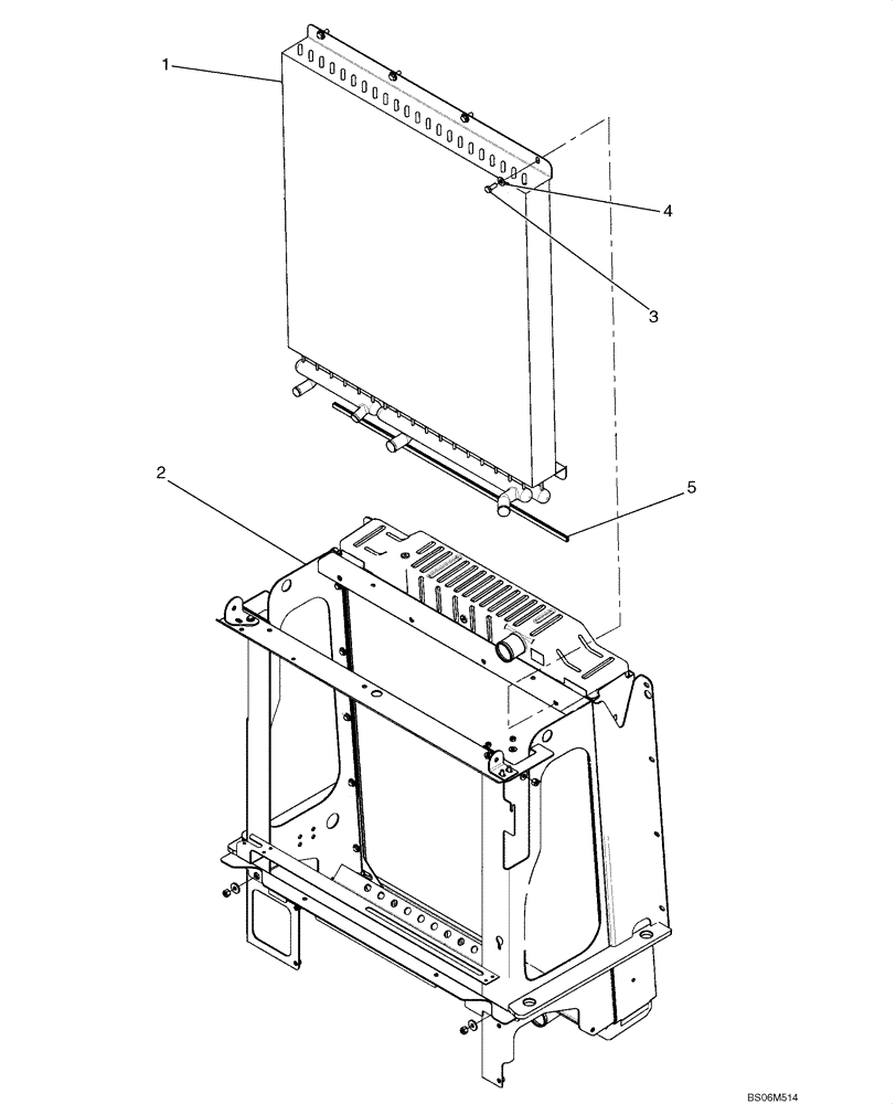
See Figure 02-02 For Radiator Mounting, Figure 02-03 For Charge Air Cooler Mounting, Figure 03-04 For Fuel Cooler Mounting

1шт.

1

407068A2

OIL COOLER

Hydraulic

1шт.

2

87358288

FRAME ASSY

Cooling

1шт.

3

627-10025

BOLT,Hex, M10 x 1.5 x 25mm, Cl 10.9, Full Thd

4шт.

4

895-15010

WASHER,11mm ID x 24mm OD x 2mm Thk

4шт.

5

434052A1

SEAL

1шт.

Выбрано товаров: 0