Запчасти Case 921E (08-26) - LOADER CONTROL - TWO LEVER MOUNTING (08) - HYDRAULICS

Схема запчастей Case 921E - (08-26) - LOADER CONTROL - TWO LEVER MOUNTING (08) - HYDRAULICS
13b
5b
12a
19
20
17
10
17
6b
16
2
8
7
13
4
14
12
6
18
6a
3
15
9
7a
11
1
5a
5
20a
13a
18
FIT
1:1
100%

Артикул

Название

Примечание

Количество

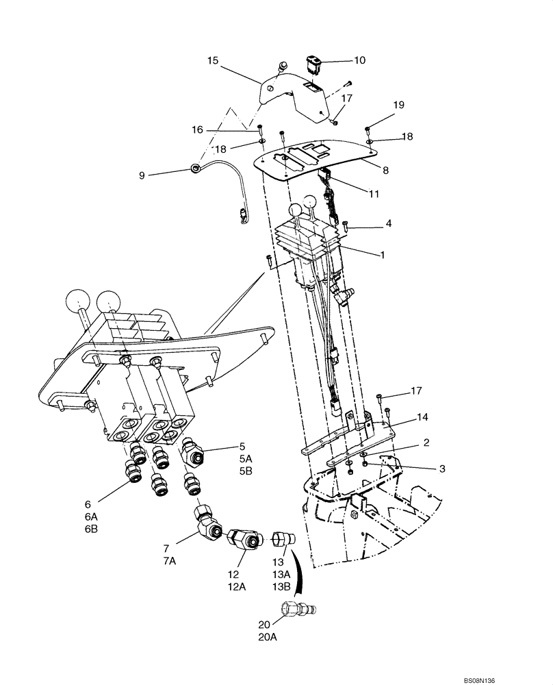
1

87539289

CONTROL

Dual Lever; See Figure 08-31

1шт.

2

895-25006

WASHER,6.6mm ID x 18mm OD x 1.6mm Thk

7шт.

3

832-10406

NUT,M6 x 1, Cl 8

4шт.

4

840-1625

SCREW,Pan, M6 x 25mm, Cl 4.8

4шт.

5

700-315

ELBOW,45 Degree Elbow, 11/16" - 16 Male ORFS x M14 x 1.5 Male ORB

Incl. Refs. 5A, 5B

2шт.

5a

238-6012

O-RING,0.07" Thk x 0.364" ID, -12, Cl 6, 90 Duro

Face Seal

1шт.

5b

637-63113

O-RING,2.2mm Thk x 11.3mm ID, Cl 6

1шт.

6

700-101

HYD CONNECTOR,11/16" - 16 Male ORFS x M14 x 1.5 Male ORB

Incl. 6A, 6B

5шт.

6a

238-6012

O-RING,0.07" Thk x 0.364" ID, -12, Cl 6, 90 Duro

Face Seal

1шт.

6b

637-63113

O-RING,2.2mm Thk x 11.3mm ID, Cl 6

1шт.

7

87354477

ELBOW,45 Degree, 11/16"-16 x 11/16"-16 Fem Sw

Incl. Ref. 7A

1шт.

7a

238-6012

O-RING,0.07" Thk x 0.364" ID, -12, Cl 6, 90 Duro

Face Seal

2шт.

8

87515557

BRACKET

1шт.

9

402390A1

SWITCH

Push Button; Downshift; Incl. Refs. 9A, 9B

1шт.

9a

NSS

NOT SOLD SEPARAT

Washer, Lock; Not Illustrated

1шт.

9b

NSS

NOT SOLD SEPARAT

Nut; Not Illustrated

1шт.

10

400833A2

SWITCH

Rocker; Forward/Neutral/Reverse

1шт.

11

87324389

WIRE HARNESS

Forward/Neutral/Reverse Switch

1шт.

12

701-422

TEE,11/16" - 16 Male ORFS x 11/16" - 16 Male ORFS x 11/16" - 16 Female ORFS

Incl. Ref. 12A

1шт.

12a

238-6012

O-RING,0.07" Thk x 0.364" ID, -12, Cl 6, 90 Duro

Face Seal

1шт.

13

201-145

REDUCER,9/16"-18 Male x 11/16"-16 Fem, ORFS

Incl. Refs. 13A, 13B; If Used

1шт.

13a

238-6011

O-RING,0.07" Thk x 0.301" ID, -11, Cl 6, 90 Duro

Face Seal

1шт.

13b

238-6012

O-RING,0.07" Thk x 0.364" ID, -12, Cl 6, 90 Duro

Face Seal

1шт.

14

87534053

BRACKET

Single Axis Controller

1шт.

15

87523729

COVER

1шт.

16

540-711

SCREW,Cross Pan Hd, M6 x 30

2шт.

17

540-719

SCREW,Cross Pan Hd, M6 x 20

6шт.

18

86639315

WASHER,6.6mm ID x 18mm OD x 1.6mm Thk

3шт.

19

87582901

SELF-TAP SCREW,Pan, #10 - 16 x 3/4"

1шт.

20

190119A1

COUPLING

Diagnostic; Incl. Ref. 20A

1шт.

20a

238-6012

O-RING,0.07" Thk x 0.364" ID, -12, Cl 6, 90 Duro

Face Seal

1шт.

Выбрано товаров: 31