Запчасти Case 921E (08-35) - VALVE ASSY - PRIORITY VALVE (08) - HYDRAULICS

Схема запчастей Case 921E - (08-35) - VALVE ASSY - PRIORITY VALVE (08) - HYDRAULICS
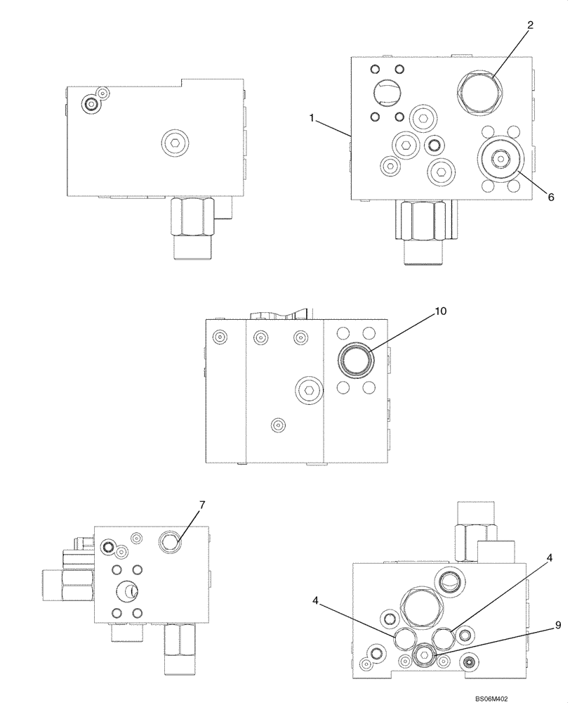
2
6
4
7
4
10
9
1
FIT
1:1
100%

Артикул

Название

Примечание

Количество

87579375

MANIFOLD VALVE

Priority; Incl. Ref. 1 - 10

1шт.

1

NSS

NOT SOLD SEPARAT

BLOCK

1шт.

2

87364593

COMPENSATOR

Pressure; Incl. Ref. 3, Not Illustrated

2шт.

3

87364595

SEAL KIT

Not Illustrated

1шт.

4

87579943

VALVE

Logic Element

2шт.

5

87579944

SEAL KIT

Used with Ref. 4, Not Illustrated

1шт.

6

87599586

VALVE

Relief

1шт.

7

87579940

CHECK VALVE

1шт.

8

87579941

SEAL KIT

Used with Ref. 7, Not Illustrated

1шт.

9

87628375

VALVE

Replaces Valve 87579942 Used On Some Models

1шт.

10

238-6222

O-RING,0.139" Thk x 1.484" ID, -222, Cl 6, 90 Duro

1шт.

Выбрано товаров: 11