Запчасти Case 921E (09-22) - HOOD - TOP (09) - CHASSIS

Схема запчастей Case 921E - (09-22) - HOOD - TOP (09) - CHASSIS
9
4
8
1
6
11
3
12
10
13
5
2
7
FIT
1:1
100%

Артикул

Название

Примечание

Количество

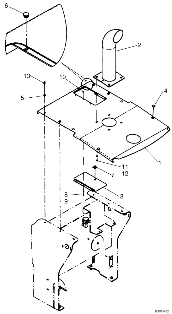
1

87560958

HOOD

Top; Gray; Replaces 87395875

1шт.

2

87358283

EXHAUST SYSTEM PIPE

1шт.

3

87523215

COVER ASSY

Top; Gray

1шт.

4

353-413

PLUG,Dome, 1.187" hole, Nylon

2шт.

5

896-15012

WASHER,13.5mm ID x 28mm OD x 4mm Thk

4шт.

6

87524552

GROMMET

2шт.

7

8602791

LOCK

1шт.

8

896-11006

WASHER,6.6mm ID x 12.5mm OD x 2mm Thk

3шт.

9

832-10406

NUT,M6 x 1, Cl 8

3шт.

10

627-6016

BOLT,Hex, M6 x 1 x 16mm, Cl 10.9, Full Thd

3шт.

11

896-11010

WASHER,11mm ID x 21mm OD x 2.5mm Thk

7шт.

12

829-1410

NUT,M10 x 1.5, Cl 10.9

4шт.

13

627-12030

BOLT,Hex, M12 x 1.75 x 30mm, Cl 10.9, Full Thd

4шт.

Выбрано товаров: 13