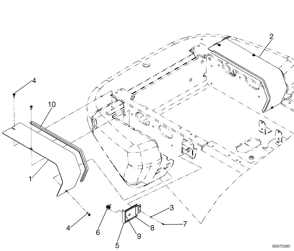
Запчасти Case 921E (09-28) - COVERS - BATTERY BOX - IF USED (09) - CHASSIS

Схема запчастей Case 921E - (09-28) - COVERS - BATTERY BOX - IF USED (09) - CHASSIS
5
9
1
6
3
4
7
2
8
4
10
FIT
1:1
100%

Артикул

Название

Примечание

Количество

1

87641806

COVER

Battery Box, RH

1шт.

2

87641808

COVER

Battery Box, LH

1шт.

3

895-11006

WASHER,6.6mm ID x 12mm OD x 1.6mm Thk

2шт.

4

854-10030

BOLT,Hvy Hex, M10 x 30mm, Cl 10.9

If Used

6шт.

4

844-10035

BOLT,Hex, M10 x 35mm, Cl 8.8

If Used

6шт.

5

87516341

COVER

Switch

1шт.

6

8602791

LOCK

1шт.

7

627-6016

BOLT,Hex, M6 x 1 x 16mm, Cl 10.9, Full Thd

2шт.

8

87528028

SEAL

Disconnect Box

2шт.

9

87528039

SEAL

Disconnect Box

1шт.

10

87641810

WEATHERSTRIP

2шт.

Выбрано товаров: 11