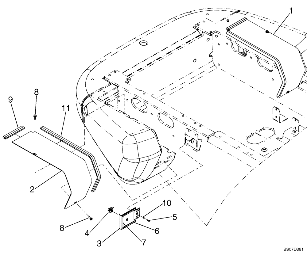
Запчасти Case 921E (09-30) - COVERS - BATTERY BOX - EUROPE - IF USED (09) - CHASSIS

Схема запчастей Case 921E - (09-30) - COVERS - BATTERY BOX - EUROPE - IF USED (09) - CHASSIS
4
7
11
9
2
1
8
6
10
3
5
8
FIT
1:1
100%

Артикул

Название

Примечание

Количество

REF

INSTRUCTION

EUROPEAN MODELS ONLY - If Used

1шт.

1

87642062

COVER

LH Battery Box

1шт.

2

87642063

COVER

RH Battery Box

1шт.

3

87516341

COVER

Switch

1шт.

4

8602791

LOCK

Control Access

1шт.

5

627-6016

BOLT,Hex, M6 x 1 x 16mm, Cl 10.9, Full Thd

2шт.

6

87528028

SEAL

Disconnect Box

2шт.

7

87528039

SEAL

Disconnect Box

1шт.

8

854-10030

BOLT,Hvy Hex, M10 x 30mm, Cl 10.9

If Used

4шт.

8

844-10035

BOLT,Hex, M10 x 35mm, Cl 8.8

If Used

4шт.

9

87544677

SEAL

Bulk

2шт.

10

895-11006

WASHER,6.6mm ID x 12mm OD x 1.6mm Thk

2шт.

11

87642061

WEATHERSTRIP

2шт.

Выбрано товаров: 13