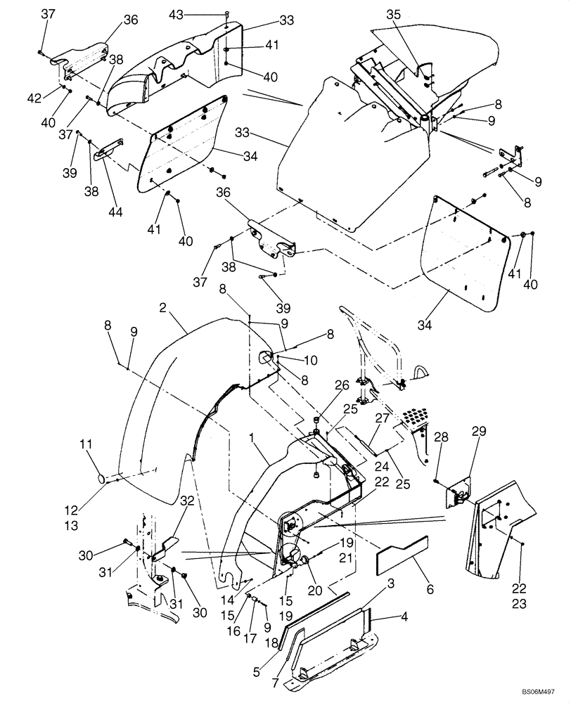
Запчасти Case 921E (09-36) - FENDERS, REAR - LEFT (09) - CHASSIS

Схема запчастей Case 921E - (09-36) - FENDERS, REAR - LEFT (09) - CHASSIS
40
10
15
9
8
6
26
37
1
43
36
9
28
42
31
40
8
34
30
9
40
37
2
14
25
33
9
38
24
37
32
44
36
3
23
38
41
15
8
22
12
33
38
4
39
35
8
9
8
11
20
34
19
1
7
22
40
22
30
29
39
27
17
5
8
41
31
13
16
41
9
21
FIT
1:1
100%

Артикул

Название

Примечание

Количество

REF

INSTRUCTION

QUANTITIES SHOWN FOR BOTH LEFT AND RIGHT FENDERS

1шт.

1

87552904

FRAME

Fender

1шт.

2

87552918

FENDER

LH; CNH Gray

1шт.

3

87547758

PANEL

Fender, LH; Tan

1шт.

4

87575581

SEAL

1шт.

5

87534512

WEATHERSTRIP

1шт.

6

87585334

FOAM INSULATION

1шт.

7

87575580

SEAL

2шт.

8

627-6025

BOLT,Hex, M6 x 1 x 25mm, Cl 10.9, Full Thd

40шт.

9

895-25006

WASHER,6.6mm ID x 18mm OD x 1.6mm Thk

48шт.

10

627-6016

BOLT,Hex, M6 x 1 x 16mm, Cl 10.9, Full Thd

RH Flap

2шт.

11

76034682

REFLECTOR

If Used

2шт.

12

627-8025

BOLT,Hex, M8 x 1.25 x 25mm, Cl 10.9, Full Thd

If Used

4шт.

13

895-25008

WASHER,9mm ID x 24mm OD x 2mm Thk

If Used

4шт.

14

896-15008

WASHER,9mm ID x 21mm OD x 2.5mm Thk

4шт.

15

895-11006

WASHER,6.6mm ID x 12mm OD x 1.6mm Thk

8шт.

16

311070A1

SPACER

2шт.

17

L126483

BUMPER

2шт.

18

827-6060

BOLT,Hex, M6 x 60mm, Cl 10.9

2шт.

18

827-8040

BOLT,Hex, M8 x 1.25 x 40mm, Cl 10.9

4шт.

19

895-11008

WASHER,9mm ID x 16mm OD x 1.6mm Thk

4шт.

20

87534511

GUIDE

4шт.

21

827-8045

BOLT,Hex, M8 x 1.25 x 45mm, Cl 10.9

4шт.

22

832-10406

NUT,M6 x 1, Cl 8

40шт.

23

895-11006

WASHER,6.6mm ID x 12mm OD x 1.6mm Thk

26шт.

24

896-11006

WASHER,6.6mm ID x 12.5mm OD x 2mm Thk

10шт.

25

86013811

STUD

4шт.

26

87534510

FLANGED BEARING,32.17 mm ID x 44.5 mm OD x 31.8 mm

Bearing

4шт.

27

L129243

GAS STRUT,498mm Extended, 321mm Compressed

Gas Strut

2шт.

28

844-6020

BOLT,Hvy Hex, M6 x 20mm, Cl 8.8

8шт.

29

R56221

LATCH

2шт.

30

614-12035

BOLT,Hex, M12 x 1.75 x 35mm, Cl 8.8, Full Thd

2шт.

31

896-15008

WASHER,9mm ID x 21mm OD x 2.5mm Thk

4шт.

32

87583990

PLATE

1шт.

33

87552932

FENDER

LH, Gray

1шт.

34

87547743

FLAP

1шт.

35

404882A1

SPRING NUT,M6

4шт.

36

87547745

BRACKET

LH Mid Fender Mount

1шт.

37

627-10035

BOLT,Hex, M10 x 1.5 x 35mm, Cl 10.9, Full Thd

12шт.

38

895-15010

WASHER,11mm ID x 24mm OD x 2mm Thk

16шт.

39

627-10030

BOLT,Hex, M10 x 1.5 x 30mm, Cl 10.9, Full Thd

8шт.

40

832-10410

NUT,M10 x 1.5, Cl 8

26шт.

41

895-25010

WASHER,11mm ID x 30mm OD x 2.5mm Thk

22шт.

42

895-11010

WASHER,11mm ID x 20mm OD x 2mm Thk

4шт.

43

811-10035

CARRIAGE BOLT,Sht Sq Nk, M10 x 1.5 x 35mm, Cl 8.8

6шт.

44

87547747

BRACKET

LH Mud Flap Mount

1шт.

Выбрано товаров: 46