Качественные детали и логистика
Оригинальные и аналоговые запчасти с доставкой по России, Казахстану и Беларуси
©2022 PartSell ООО "Система" ИНН 2463123282 ОГРН 1212400004838
Центральный офис: г. Красноярск, Академика Киренского, д.87, пом.4
Телефон: 8 (800) 777-65-74 Email: zakaz@partsell.ru
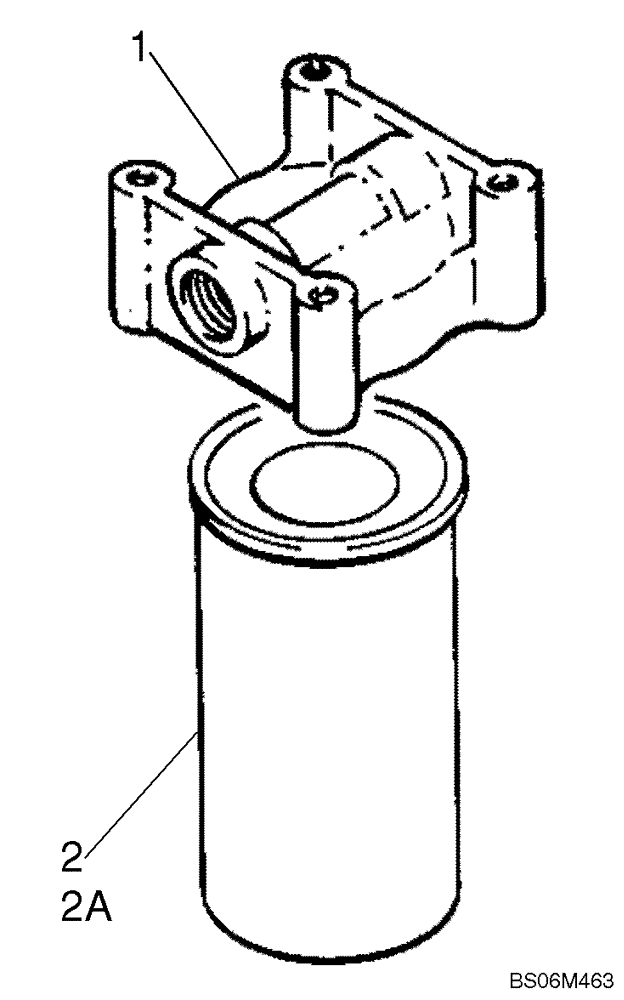
(03-02) - FILTER, FUEL - WATER SEPERATOR
№
Артикул
Название
Примечание
Количество
1
103796A1
SUPPORT
1шт.
2
J329289
FUEL FILTER
Water Separator; Incl. Ref. 2A
2a
NSS
NOT SOLD SEPARAT
Water Sensor
Выбрано товаров: 0