Качественные детали и логистика
Оригинальные и аналоговые запчасти с доставкой по России, Казахстану и Беларуси
©2022 PartSell ООО "Система" ИНН 2463123282 ОГРН 1212400004838
Центральный офис: г. Красноярск, Академика Киренского, д.87, пом.4
Телефон: 8 (800) 777-65-74 Email: zakaz@partsell.ru
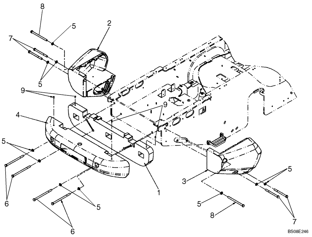
(09-88A) - COUNTERWEIGHT - HEAVY DUTY
№
Артикул
Название
Примечание
Количество
1
87713885
COUNTERWEIGHT
Center, Inner
1шт.
2
87337715
LH
3
87337716
RH
4
87337714
Center, Outer
5
896-11024
WASHER,26mm ID x 44mm OD x 5mm Thk
10шт.
6
87306677
BOLT,Hex, M24 x 380mm, Cl 10.9
Hex, M24 x 380, 10.9
4шт.
7
827-24270
BOLT,Hex, M24 x 3 x 270mm, Cl 10.9
8
827-24330
BOLT,Hex, M24 x 3 x 330mm, Cl 10.9
2шт.
9
87308200
PLASTIC PLUG
Выбрано товаров: 0