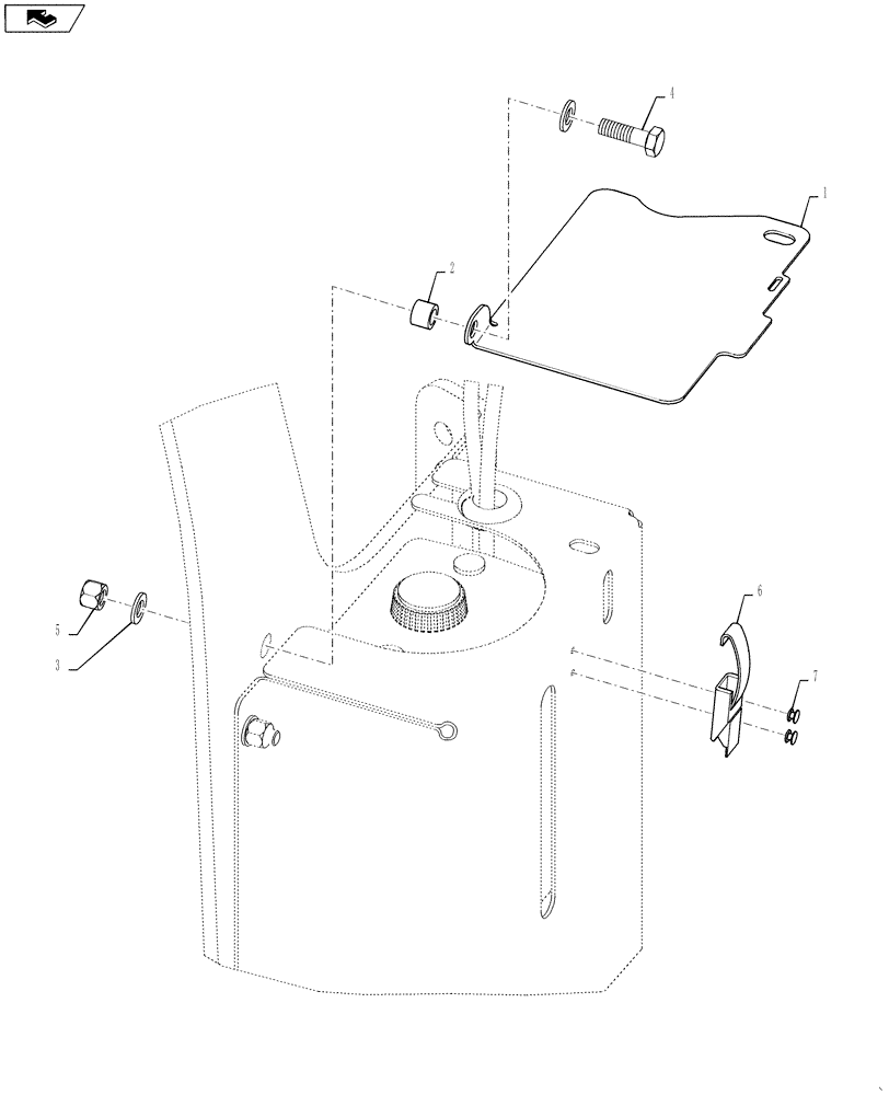
Запчасти Case 1021F (90.150.07[01]) - COVER, WASHER BOTTLE INSTALLATION (90) - PLATFORM, CAB, BODYWORK AND DECALS

Схема запчастей Case 1021F - (90.150.07[01]) - COVER, WASHER BOTTLE INSTALLATION (90) - PLATFORM, CAB, BODYWORK AND DECALS
1
home
4
6
3
2
7
5
FIT
1:1
100%

Артикул

Название

Примечание

Количество

1

84409413

PROTECTIVE COVER

1шт.

2

84238738

SPACER,10.34mm ID x 15.88mm OD x 12mm L

1шт.

3

895-11010

WASHER,11mm ID x 20mm OD x 2mm Thk

2шт.

4

627-10035

BOLT,Hex, M10 x 1.5 x 35mm, Cl 10.9, Full Thd

1шт.

5

832-10410

NUT,M10 x 1.5, Cl 8

1шт.

6

60-4640T1

LATCH

1шт.

7

151-515

RIVET,Pop, .146" x .425"

2шт.

Выбрано товаров: 7