Запчасти Case 1121F (41.200.02[03]) - AUXILIARY STEERING MANIFOLD (41) - STEERING

Схема запчастей Case 1121F - (41.200.02[03]) - AUXILIARY STEERING MANIFOLD (41) - STEERING
8
4
2
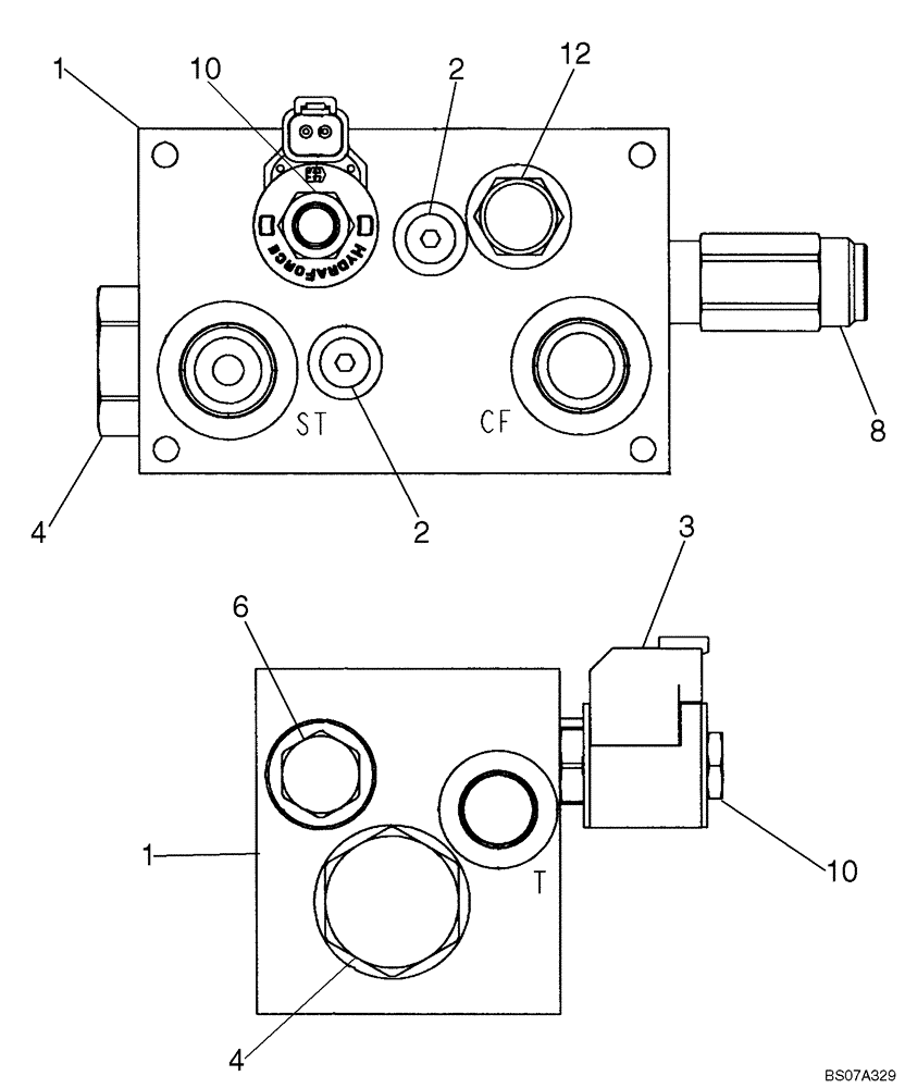
1
1
4
12
2
3
10
6
FIT
1:1
100%

Артикул

Название

Примечание

Количество

1

87609806

MANIFOLD

Auxiliary Steering; Incl. 2 - 13

1шт.

2

87365409

PLUG

Orifice

2шт.

3

87617170

COIL

Solenoid

1шт.

4

87365418

CHECK VALVE

Incl. 5

1шт.

5

87365420

SEAL KIT

Not Illustrated

1шт.

6

87365422

CHECK VALVE

Incl. 7

1шт.

7

1542831C1

SEAL KIT

1шт.

8

87365425

VALVE, PRESSURE RELI

EF Incl. 9

1шт.

9

87365424

SEAL KIT

1шт.

10

87365427

SPOOL

Incl. 11

1шт.

11

87365429

SEAL KIT

Not Illustrated

1шт.

12

87365430

ELEMENT

Logic; Incl. 13

1шт.

13

87365429

SEAL KIT

Not Illustrated

1шт.

Выбрано товаров: 13