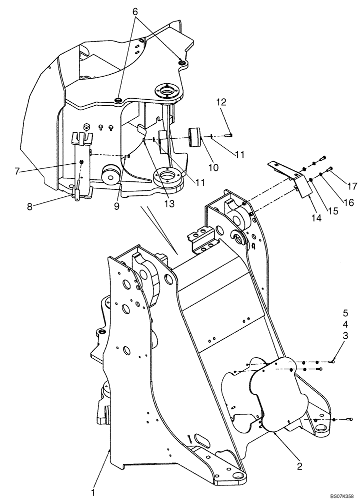
Запчасти Case 521F (39.100.02) - FRAME, FRONT, XT (39) - FRAMES AND BALLASTING

Схема запчастей Case 521F - (39.100.02) - FRAME, FRONT, XT (39) - FRAMES AND BALLASTING
11
17
11
8
16
6
12
7
4
5
15
14
9
3
2
13
1
10
FIT
1:1
100%

Артикул

Название

Примечание

Количество

1

84415285

FRAME

Front Chassis, XT

1шт.

2

8605898

COVER

Valve

1шт.

3

895-11010

WASHER,11mm ID x 20mm OD x 2mm Thk

3шт.

4

892-11010

LOCK WASHER,M10

3шт.

5

627-10040

BOLT,Hex, M10 x 1.5 x 40mm, Cl 10.9, Full Thd

3шт.

6

380602A1

BUSHING

2шт.

7

406347A1

SUPPORT ASSY.

Linkage Support

1шт.

8

406390A1

HANDLE

Linkage Channel

1шт.

9

627-12020

BOLT,Hex, M12 x 1.75 x 20mm, Cl 10.9, Full Thd

1шт.

10

8500043

DAMPER,125mm OD x 70mm L

Articulation

2шт.

11

896-15012

WASHER,13.5mm ID x 28mm OD x 4mm Thk

4шт.

12

627-12040

BOLT,Hex, M12 x 1.75 x 40mm, Cl 10.9, Full Thd

2шт.

13

829-1412

NUT,M12, Cl 10.9

2шт.

14

87450063

COVER

Proximity Switch

1шт.

15

896-11012

WASHER,13.5mm ID x 24mm OD x 3mm Thk

2шт.

16

892-11012

LOCK WASHER,M12

2шт.

17

627-12035

BOLT,Hex, M12 x 1.75 x 35mm, Cl 10.9, Full Thd

2шт.

Выбрано товаров: 17