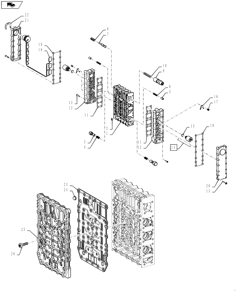
Запчасти Case 621F (21.100.10) - TRANSMISSION CONTROL VALVE ASSY (21) - TRANSMISSION

Схема запчастей Case 621F - (21.100.10) - TRANSMISSION CONTROL VALVE ASSY (21) - TRANSMISSION
2
11
7
10
19
17
6
14
20
22
5
3
12
16
25
18
24
8
21
4
15
11
home
12
23
13
9
13
26
19
1
FIT
1:1
100%

Артикул

Название

Примечание

Количество

1

87712666

BLOCK

Valve

1шт.

2

8603367

ORIFICE

6шт.

3

8603368

PLUNGER

6шт.

4

8603369

SPRING

6шт.

5

8603370

PISTON

6шт.

6

8603371

SPRING

6шт.

7

8603372

PISTON

1шт.

8

8603374

SPRING

1шт.

9

8603623

PLUNGER

1шт.

10

8603375

SPRING

1шт.

11

8603786

GASKET

2шт.

12

8603376

HOUSING

2шт.

13

8603377

SCREW

64шт.

14

8603624

REGULATING SYSTEM

Also Includes # 15

6шт.

15

8603538

O-RING,13.5mm ID x 2mm Width

1шт.

16

8603218

PLATE

6шт.

17

8603359

SCREW

6шт.

18

8603625

WIRE HARNESS

1шт.

19

87453965

GASKET

2шт.

20

8603360

COVER

1шт.

21

8603361

COVER

1шт.

22

8603362

CLAMP

1шт.

23

87712667

PLATE

1шт.

24

8603363

SCREEN

6шт.

25

8603628

PLATE

1шт.

26

8603183

SCREW,M6 x 23mm, Cl 10.9

18шт.

Выбрано товаров: 26