Запчасти Case 621F (35.724.AE[01]) - JOYSTICK WITH SINGLE LEVER CONTROL INSTALLATION (35) - HYDRAULIC SYSTEMS

Схема запчастей Case 621F - (35.724.AE[01]) - JOYSTICK WITH SINGLE LEVER CONTROL INSTALLATION (35) - HYDRAULIC SYSTEMS
17
15
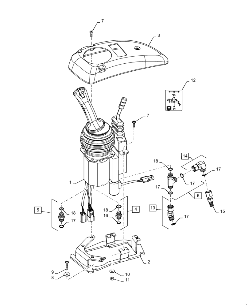
1
7
8
3
17
18
5
6
12
9
14
2
10
11
17
17
7
18
18
16
17
13
4
FIT
1:1
100%

Артикул

Название

Примечание

Количество

1

87340017

JOYSTICK

With One Lever

1шт.

2

87516506

ADAPTER

Joystick Controller

1шт.

3

87638911

BEZEL

Joystick

1шт.

4

700-153

HYD CONNECTOR,9/16" - 18 Male ORFS x M14 x 1.5 Male ORB

Incl 16, 18

6шт.

5

700-101

HYD CONNECTOR,11/16" - 16 Male ORFS x M14 x 1.5 Male ORB

Incl 17, 18

1шт.

6

700-406

TEE,11/16" - 16 Male ORFS x 11/16" - 16 Male ORFS x M14 x 1.5 Male ORB

Incl 17, 18

1шт.

7

47372445

SCREW,Pozidrive, Pan HD, M6 x 20mm, Cl 5.8

7шт.

8

140040

WASHER,6.6mm ID x 22mm OD x 2mm Thk

4шт.

9

840-1630

SCREW,Pan, M6 x 30mm, Cl 4.8

4шт.

10

895-25006

WASHER,6.6mm ID x 18mm OD x 1.6mm Thk

2шт.

11

832-10406

NUT,M6 x 1, Cl 8

2шт.

12

87536095

DECAL

Joystick and 1 Lever

1шт.

13

87354477

ELBOW,45 Degree, 11/16"-16 x 11/16"-16 Fem Sw

Incl 17

1шт.

14

701-319

ELBOW,90° Elbow, 11/16" - 16 Male ORFS x 11/16" - 16 Female ORFS

Incl 17

1шт.

15

190119A1

COUPLING

Diagnostic

1шт.

16

238-6011

O-RING,0.07" Thk x 0.301" ID, -11, Cl 6, 90 Duro

Face Seal

6шт.

17

238-6012

O-RING,0.07" Thk x 0.364" ID, -12, Cl 6, 90 Duro

5шт.

18

637-63113

O-RING,2.2mm Thk x 11.3mm ID, Cl 6

8шт.

Выбрано товаров: 18