Запчасти Case 621F (50.200.BB) - A/C CONDENSER LINE INSTALLATION (50) - CAB CLIMATE CONTROL

Схема запчастей Case 621F - (50.200.BB) - A/C CONDENSER LINE INSTALLATION (50) - CAB CLIMATE CONTROL
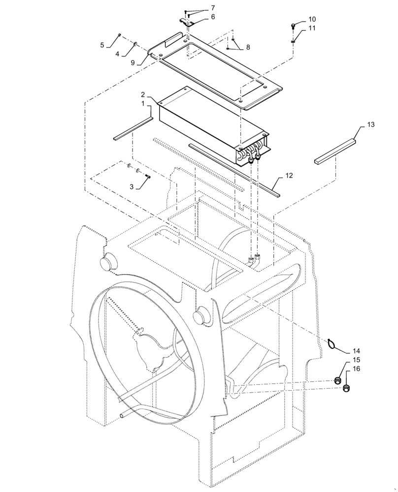
2
9
7
5
3
12
1
4
8
16
15
13
6
14
10
11
FIT
1:1
100%

Артикул

Название

Примечание

Количество

1

87432328

SEAL

Condenser Housing

1шт.

2

8500878

CONDENSER

Assembly

1шт.

3

84591180

HEX SOC SCREW,M8 x 16mm, Cl 12.9

2шт.

4

895-18010

WASHER,10.5mm ID x 18mm OD x 1.6mm Thk

6шт.

5

832-10408

NUT,M8 x 1.25, Cl 8.8

2шт.

6

60-4640T1

LATCH

Condenser Plate

1шт.

7

440-1088

SCREW,Cross Pan Hd, #8-32 x 1/2"

2шт.

8

225-14108

NUT,#8-32

2шт.

9

84411602

PLATE

A/C Condenser

1шт.

10

627-8016

BOLT,Hex, M8 x 1.25 x 16mm, Cl 10.9, Full Thd

4шт.

11

892-11008

LOCK WASHER,8mm ID

4шт.

12

8500133

OIL SEAL

Side

2шт.

13

8602498

SEALING STRIP,25mm W x 294mm L x 13mm Thk

1шт.

14

L11541

CABLE TIE,203.2mm L, Nylon

2шт.

15

198825C1

GROMMET,15.88mm ID x 41.1mm OD x 26.9mm Thk

1шт.

16

198826C1

GROMMET,19.05mm ID x 41.1mm OD x 26.9mm Thk

1шт.

Выбрано товаров: 16