Запчасти Case 621F (55.404.AQ[01]) - FRONT LIGHT INSTALLATION (55) - ELECTRICAL SYSTEMS

Схема запчастей Case 621F - (55.404.AQ[01]) - FRONT LIGHT INSTALLATION (55) - ELECTRICAL SYSTEMS
3
5
6
1
4
8
7
55.404.aq 02
home
55.404.aq 02
2
FIT
1:1
100%

Артикул

Название

Примечание

Количество

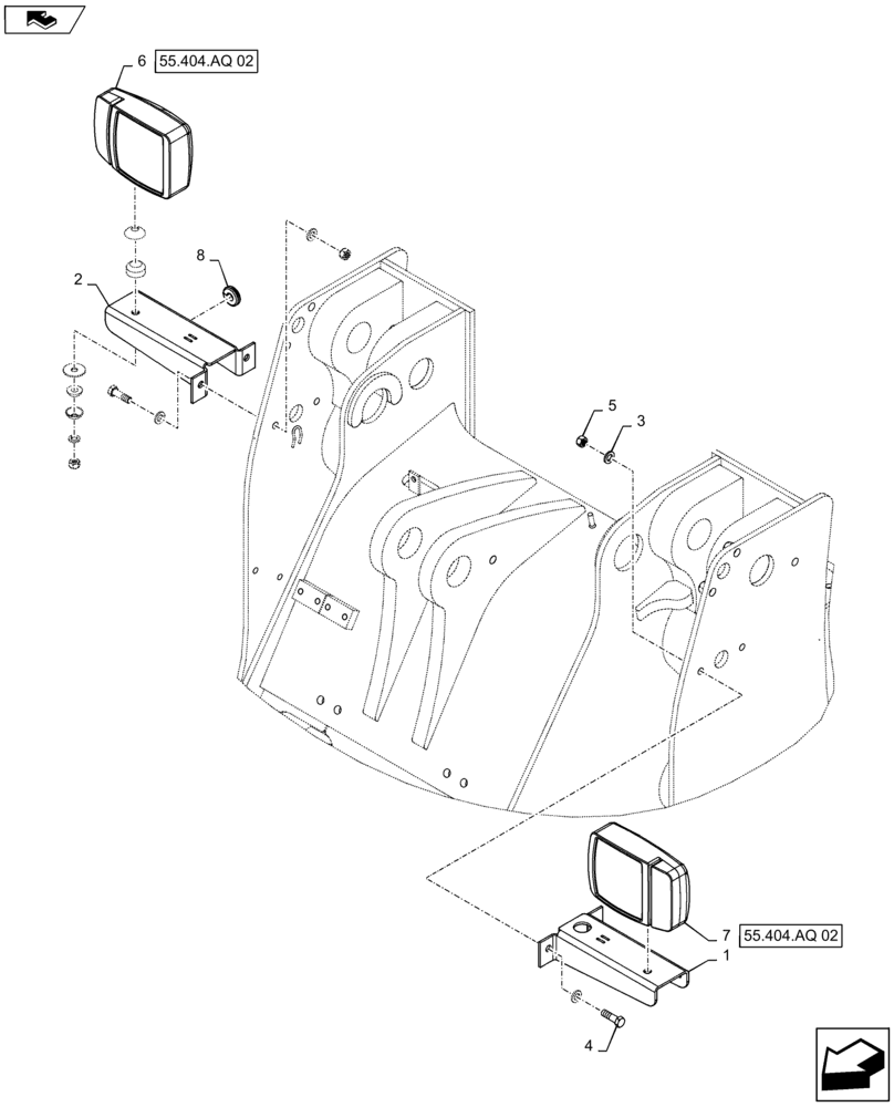
1

87749484

BRACKET

Left Hand

1шт.

2

87749489

BRACKET

Right Hand

1шт.

3

896-11012

WASHER,13.5mm ID x 24mm OD x 3mm Thk

8шт.

4

614-12040

BOLT,Hex, M12 x 1.75 x 40mm, Cl 8.8, Full Thd

4шт.

5

829-1412

NUT,M12, Cl 10.9

4шт.

6

368056A1

LIGHT,Halogen, 24V, 70W, Clear

Left Hand

1шт.

7

368055A1

LIGHT,Halogen, 24V, 70W, Clear

Right Hand

1шт.

8

248-2376

GROMMET,5/8" ID x 1 1/4" Groove Dia, Str Cut

Rubber

2шт.

Выбрано товаров: 8