Запчасти Case 621F (10.216.AI[01]) - FUEL TANK ASSEMBLY (10) - ENGINE

Схема запчастей Case 621F - (10.216.AI[01]) - FUEL TANK ASSEMBLY (10) - ENGINE
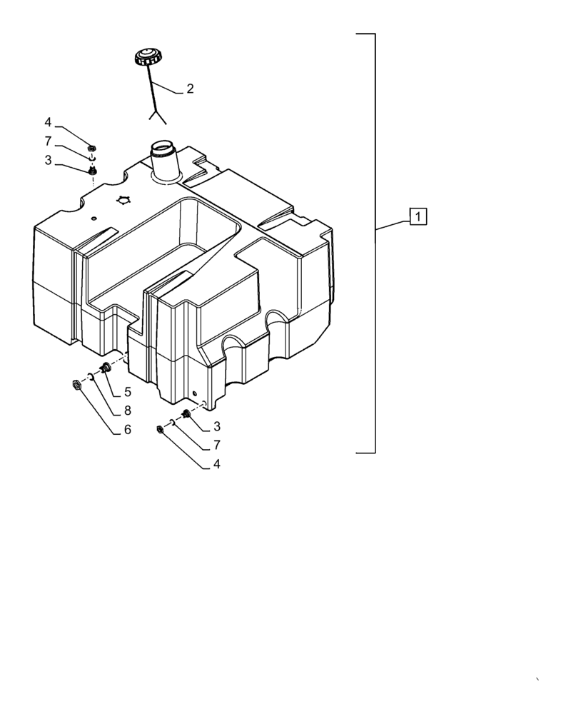
4
8
5
3
1
7
3
6
2
7
4
FIT
1:1
100%

Артикул

Название

Примечание

Количество

1

8500909

FUEL TANK

Assy, Incl 2 - 8

1шт.

2

8604443

FILLER CAP

W/Gasket

1шт.

3

87694594

BOLT,3/4" - 16 LH Thread External, 1/4" - 18 NPTF Internal

3шт.

4

1251791C1

JAM NUT,3/4" - 16 LH Thread

Fuel Tank Drain Fitting

3шт.

5

87707148

FITTING

Bolt Fuel Tank Supply

1шт.

6

282709A1

NUT

Fitting

1шт.

7

238-5210

O-RING,0.139" Thk x 0.734" ID, -210, Cl 5, 75 Duro

2шт.

8

238-5214

O-RING,0.139" Thk x 0.984" ID, -214, Cl 5, 75 Duro

1шт.

Выбрано товаров: 8