Запчасти Case 721F (50.200.01) - COVERS - CAB - WITHOUT AIR CONDITIONING (50) - CAB CLIMATE CONTROL

Схема запчастей Case 721F - (50.200.01) - COVERS - CAB - WITHOUT AIR CONDITIONING (50) - CAB CLIMATE CONTROL
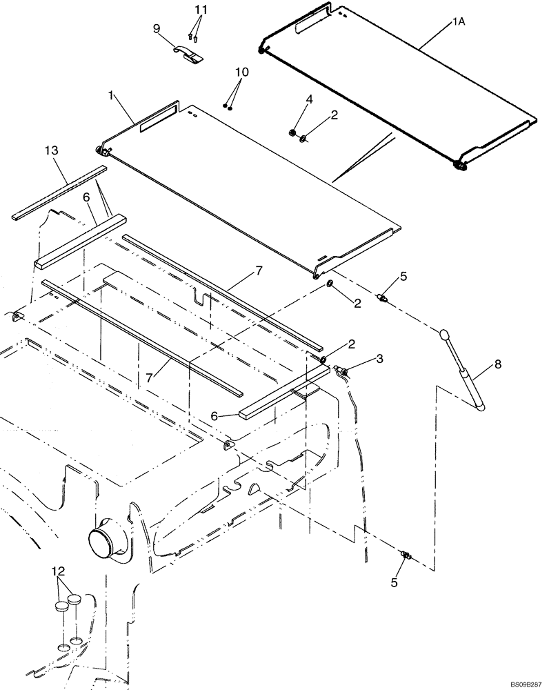
1a
11
5
3
9
6
1
12
2
4
7
6
10
7
2
5
2
13
8
FIT
1:1
100%

Артикул

Название

Примечание

Количество

1

84180094

PLATE

PLATE, Without Bracket For Gas Spring

1шт.

2

895-18010

WASHER,10.5mm ID x 18mm OD x 1.6mm Thk

6шт.

3

561-703

HEX SOC SCREW,M8 x 32.4, 10 x 16mm shldr, Cl 12.9

2шт.

4

832-10408

NUT,M8 x 1.25, Cl 8.8

2шт.

5

350662A1

STUD

If Used

2шт.

6

8602498

SEALING STRIP,25mm W x 294mm L x 13mm Thk

1шт.

7

8500133

OIL SEAL

Oil Cooler; Side

2шт.

8

60-4640T1

LATCH

1шт.

9

225-14108

NUT,#8-32

2шт.

10

440-1088

SCREW,Cross Pan Hd, #8-32 x 1/2"

2шт.

11

353-414

PLUG,Dome, 1.375" Hole, Nylon

2шт.

12

87432328

SEAL

1шт.

Выбрано товаров: 12