Запчасти Case 721F (21.130.AZ) - TEMPERATURE SENDER, PUMP COVER, SPEED SENSOR (21) - TRANSMISSION

Схема запчастей Case 721F - (21.130.AZ) - TEMPERATURE SENDER, PUMP COVER, SPEED SENSOR (21) - TRANSMISSION
1
7
4
6
2
5
8
9
3
10
FIT
1:1
100%

Артикул

Название

Примечание

Количество

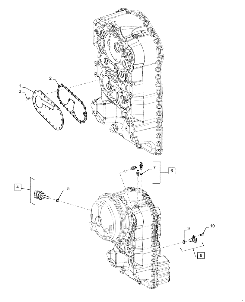
1

8603393

COVER

Steering Pump

1шт.

2

8603395

GASKET

Steering Pump Cover

1шт.

3

8603396

BOLT,Hex, M8 x 18mm

23шт.

4

87712669

SENSOR

Transmission Temp, Incl 5

1шт.

5

8603402

O-RING

Sensor

1шт.

6

8603397

SENSOR

Inductive, Incl 7

3шт.

7

87453989

O-RING

Inductive Sensor

3шт.

8

8603398

SENSOR

Speed, Incl 9

1шт.

9

8603629

O-RING

Speed Sensor

1шт.

10

84396191

SCREW

Speed Sensor Mounting

1шт.

Выбрано товаров: 10