Запчасти Case 821F (35.359.AF) - TWO LEVER CONTROL INSTALLATION (35) - HYDRAULIC SYSTEMS

Схема запчастей Case 821F - (35.359.AF) - TWO LEVER CONTROL INSTALLATION (35) - HYDRAULIC SYSTEMS
21
15
22
3
6
13
9
2
8
23
18
12
24
home
22
4
12
22
14
25
10
14
20
19
17
5
11
7
22
11
1
16
FIT
1:1
100%

Артикул

Название

Примечание

Количество

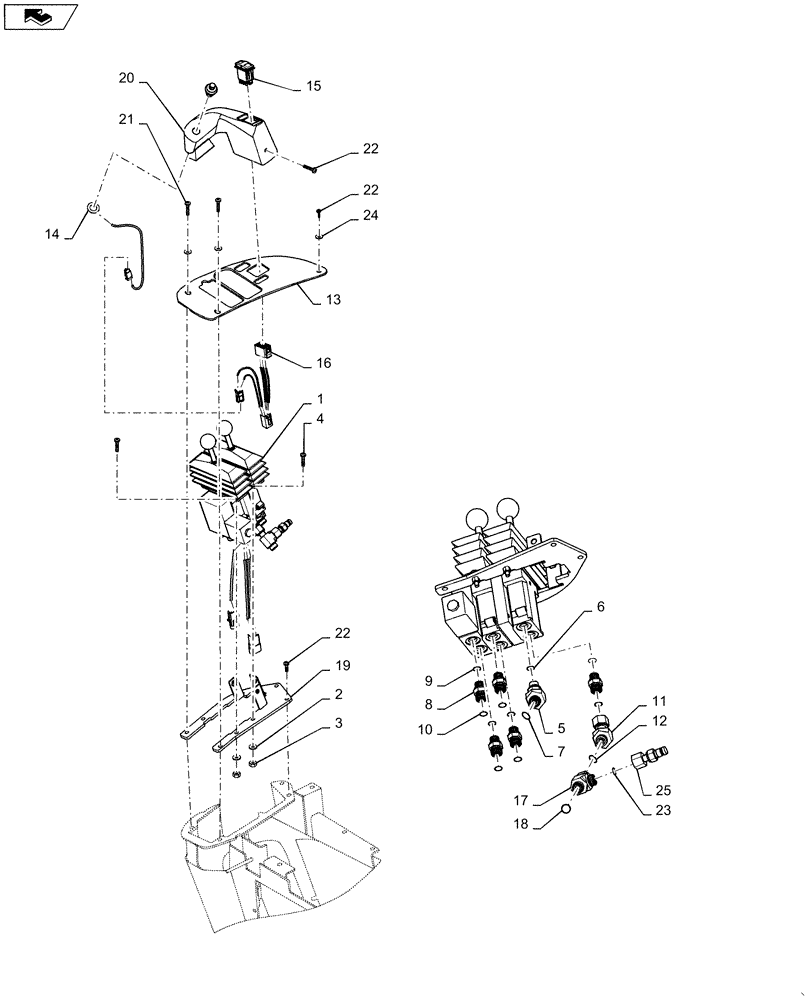
1

407868A2

VALVE, CONTROL

Dual Lever With Two Spool Valve

1шт.

2

895-25006

WASHER,6.6mm ID x 18mm OD x 1.6mm Thk

4шт.

3

832-10406

NUT,M6 x 1, Cl 8

4шт.

4

840-1625

SCREW,Pan, M6 x 25mm, Cl 4.8

4шт.

5

700-315

ELBOW,45 Degree Elbow, 11/16" - 16 Male ORFS x M14 x 1.5 Male ORB

1шт.

6

238-6012

O-RING,0.07" Thk x 0.364" ID, -12, Cl 6, 90 Duro

1шт.

7

637-63113

O-RING,2.2mm Thk x 11.3mm ID, Cl 6

1шт.

8

700-101

HYD CONNECTOR,11/16" - 16 Male ORFS x M14 x 1.5 Male ORB

5шт.

9

238-6012

O-RING,0.07" Thk x 0.364" ID, -12, Cl 6, 90 Duro

1шт.

10

637-63113

O-RING,2.2mm Thk x 11.3mm ID, Cl 6

1шт.

11

87354477

ELBOW,45 Degree, 11/16"-16 x 11/16"-16 Fem Sw

1шт.

12

238-6012

O-RING,0.07" Thk x 0.364" ID, -12, Cl 6, 90 Duro

2шт.

13

84314705

BEZEL

2 Lever

1шт.

14

402390A1

SWITCH

Push Button; Downshift

1шт.

15

400833A2

SWITCH

Rocker; Forward/Neutral/Reverse

1шт.

16

87324389

WIRE HARNESS

Forward/Neutral/Reverse Switch

1шт.

17

701-422

TEE,11/16" - 16 Male ORFS x 11/16" - 16 Male ORFS x 11/16" - 16 Female ORFS

1шт.

18

238-6012

O-RING,0.07" Thk x 0.364" ID, -12, Cl 6, 90 Duro

1шт.

19

87534053

BRACKET

Single Axis Controller

1шт.

20

87523729

COVER

Tower

1шт.

21

84263396

SCREW,Phillips Drive, Pan HD, M6 x 30mm, Cl 4.8

2шт.

22

47372445

SCREW,Pozidrive, Pan HD, M6 x 20mm, Cl 5.8

5шт.

23

238-6012

O-RING,0.07" Thk x 0.364" ID, -12, Cl 6, 90 Duro

1шт.

24

47368445

WASHER,6.4mm ID x 16.3mm OD x 1mm Thk

3шт.

25

190119A1

COUPLING

Diagnostic

1шт.

23

1270762C1

SELF-TAP SCREW

1шт.

Выбрано товаров: 26