Запчасти Case 921F (41.101.AB) - STEERING COLUMN ASSEMBLY (41) - STEERING

Схема запчастей Case 921F - (41.101.AB) - STEERING COLUMN ASSEMBLY (41) - STEERING
17
10
1
14
18
5
9
20
6
4
3
15
3
16
12
3
7
13
8
10
16
21
13
7
19
11
22
10
2
14
FIT
1:1
100%

Артикул

Название

Примечание

Количество

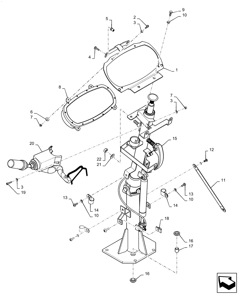
1

76303295

BRACKET

AIC Mount, Case

1шт.

2

840-1520

SCREW,Phillips Drive, Pan HD, M5 x 20mm, Cl 4.8

4шт.

3

895-11005

WASHER,5.5mm ID x 10mm OD x 1mm Thk

8шт.

4

47372445

SCREW,Pozidrive, Pan HD, M6 x 20mm, Cl 5.8

4шт.

5

404287A1

INSERT,M6

2шт.

6

895-25005

WASHER,M5 x 15 x 1.6

4шт.

7

832-10405

NUT,M5 x .8, Cl 8

6шт.

8

47411285

DISPLAY

Software, Must be Downloaded by Service Technician at Dealership

1шт.

9

614-6020

BOLT,Hex, M6 x 1 x 20mm, Cl 8.8, Full Thd

2шт.

10

895-11006

WASHER,6.6mm ID x 12mm OD x 1.6mm Thk

8шт.

11

349372A1

GROUND CABLE

1шт.

12

261-2478

SELF-TAP SCREW,1/4 -20x1/2 F Pan

2шт.

13

840-1616

SCREW,Pan, M6 x 16mm, Cl 4.8

6шт.

14

515-23190

CLAMP,3/4", Insul, 3/8" Bolt

4шт.

15

84483956

STEERING COLUMN

With Stops

1шт.

16

71476260

SPACER,14.5mm ID x 19.5mm OD x 7mm L

8шт.

17

76081690

SPACER,10.3mm ID x 15mm OD x 14.8mm L

4шт.

18

833-40306

SPRING NUT,M6, U

2шт.

19

864-5020

HEX SOC SCREW,M5 x 20mm, Cl 8.8

2шт.

20

238270A1

CONTROL

Lever

1шт.

20

238270A1R

REMAN-JOYSTICK

1шт.

20

238270A1C

CORE-JOYSTICK

1шт.

21

L127554

WASHER,0.395" ID x 0.875" OD x 0.064" Thk

1шт.

22

253347A1

NUT,Hex, M10 x 1.5

1шт.

Выбрано товаров: 0