Запчасти Case 921F (41.200.BN) - AUXILIARY STEERING MANIFOLD VALVE (41) - STEERING

Схема запчастей Case 921F - (41.200.BN) - AUXILIARY STEERING MANIFOLD VALVE (41) - STEERING
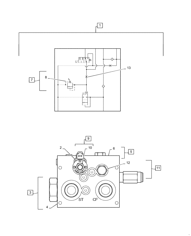
8
1
13
3
11
7
2
10
4
6
9
5
12
FIT
1:1
100%

Артикул

Название

Примечание

Количество

1

47423289

MANIFOLD

Auxiliary Steering, Incl 2 - 13

1шт.

2

87365413

COIL

Solenoid

1шт.

3

47540054

CHECK VALVE

Incl 4

1шт.

4

47540055

SEAL KIT

1шт.

5

87365422

CHECK VALVE

Incl 6

1шт.

6

1542831C1

SEAL KIT

1шт.

7

87365425

VALVE, PRESSURE RELI

Incl 8

1шт.

8

87365424

SEAL KIT

1шт.

9

87365427

SPOOL

3 Way, Incl 10

1шт.

10

87365429

SEAL KIT

1шт.

11

87365430

ELEMENT

Logic, Incl 12

1шт.

12

87365429

SEAL KIT

1шт.

13

87365409

PLUG

Orifice

2шт.

Выбрано товаров: 13