Запчасти Case 921F (27.100.AK[02]) - AXLE INSTALLATION HEAVY DUTY (27) - REAR AXLE SYSTEM

Схема запчастей Case 921F - (27.100.AK[02]) - AXLE INSTALLATION HEAVY DUTY (27) - REAR AXLE SYSTEM
11
17
19
10
16
18
15
2
10
17
9
20
4
14
3
5
17
19
6
4
8
1
21
13
3
16
12
7
18
23
5
14
15
22
16
FIT
1:1
100%

Артикул

Название

Примечание

Количество

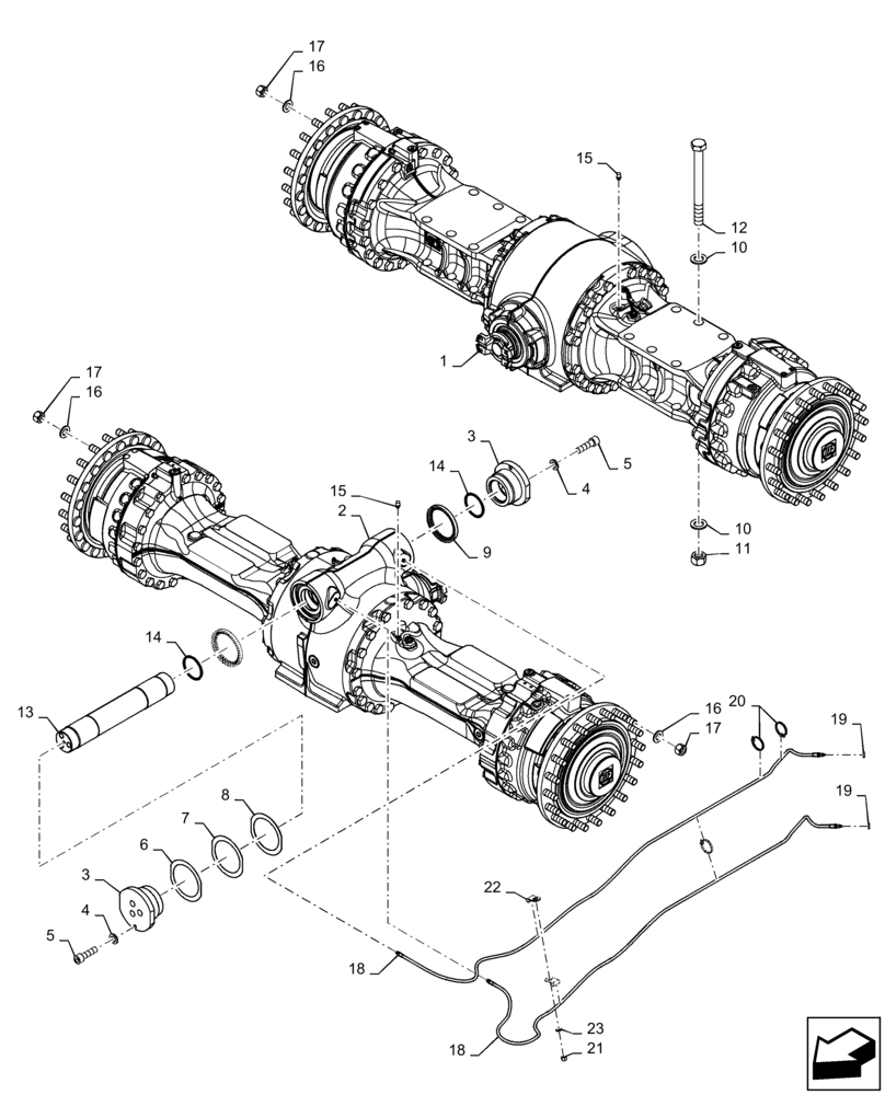
1

84215440

DRIVE AXLE

Rear

1шт.

1

84215440R

REMAN-REAR AXLE

1шт.

1

84215440C

CORE-REAR AXLE

1шт.

2

84215459

DRIVE AXLE

Front

1шт.

2

84215459R

REMAN-FRONT AXLE w/D

921F WHEEL LOADER - TIER 4B (NA), Front (1/14-)

1шт.

2

84215459C

CORE-FRT AXLE W/DIFF

Return Number

1шт.

3

84215421

CAP

End

2шт.

4

896-11020

WASHER,22mm ID x 37mm OD x 4mm Thk

6шт.

5

863-20070

HEX SOC SCREW,M20 x 70mm, 12.9

6шт.

6

84215452

SHIM,122.5mm ID x 157mm OD x 0.5mm Thk

.50 MM

1шт.

7

84215453

SHIM,122.5mm ID x 157mm OD x 1mm Thk

1.00 MM

1шт.

8

84215454

SHIM,122.5mm ID x 157mm OD x 1.5mm Thk

1.50 MM

1шт.

9

84477329

SEAL,109.4mm ID x 137.2mm OD x 14.5mm Thk

Grease

2шт.

10

896-11030

WASHER,33mm ID x 56mm OD x 5mm Thk

16шт.

11

829-1430

NUT,M30, Cl 10

8шт.

12

87358874

BOLT,Hex, M30 x 320mm, Cl 10.9

8шт.

13

84215422

PIN,80.5mm OD x 503mm L

Rear Axle Pivot

1шт.

14

238-5235

O-RING,0.139" Thk x 3.109" ID, -235, Cl 5, 75 Duro

2шт.

15

47566244

BREATHER

Valve

2шт.

16

896-11022

WASHER,24mm ID x 44mm OD x 4mm Thk

80шт.

17

84227695

NUT

80шт.

18

84258672

HOSE ASSY.,4.83mm ID x 2174mm L

Grease Axle Bushing

2шт.

19

F53473

LOCK NUT,1/8-27 NPSM

2шт.

20

L11541

CABLE TIE,203.2mm L, Nylon

3шт.

21

832-10410

NUT,M10 x 1.5, Cl 8

1шт.

22

515-2495

CLAMP,3/8", Insul, 7/16" Bolt

2шт.

23

895-11010

WASHER,11mm ID x 20mm OD x 2mm Thk

1шт.

24

47898476

SHIM

0.25mm Thick

1шт.

25

48079456

SHIM

1шт.

Выбрано товаров: 29