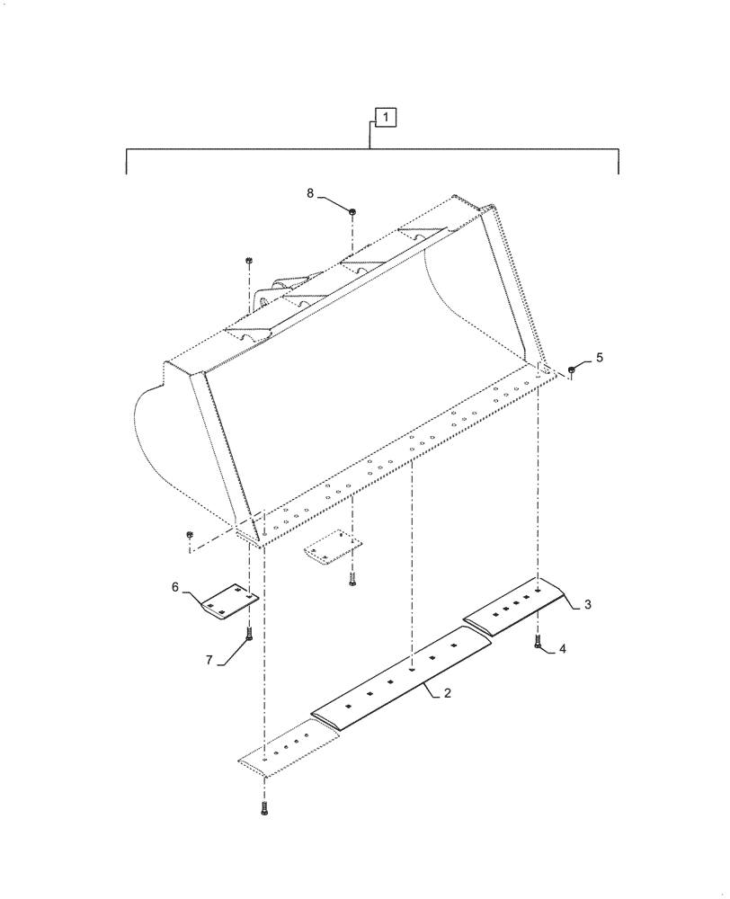
Запчасти Case 1021G (82.300.020[01]) - VAR - 424246, 424250, 424906 - BUCKET W/ CUTTING EDGE (82) - FRONT LOADER & BUCKET

Схема запчастей Case 1021G - (82.300.020[01]) - VAR - 424246, 424250, 424906 - BUCKET W/ CUTTING EDGE (82) - FRONT LOADER & BUCKET
8
3
2
5
4
6
1
7
FIT
1:1
100%

Артикул

Название

Примечание

Количество

1

84248285

BUCKET

3.6 Cu Meter (4.75 Cu Yd) Bucket W/ Bolt on Blade, Incl 2 - 8

1шт.

1

84242192

BUCKET

4.2 Cu Meter (5.5 Cu Yd) Bucket W/ Bolt on Blade, Incl 2 - 8

1шт.

2

84357793

BLADE

Center Bolt On

2шт.

3

84357794

BLADE

Outer Bolt On

2шт.

4

L125966

PLOW BOLT,#3, Dome Hd, 1" - 8 x 3.50", Gr 8

18шт.

5

329-1016

NUT,1"-8, G8

18шт.

6

87527923

SKID PLATE

Bolt On Skid

2шт.

7

420-21240

CARRIAGE BOLT,#3, 3/4" - 10 x 2 1/2", Gr 8

8шт.

8

425-1612

NUT,3/4"-10, G5, Hvy

8шт.

Выбрано товаров: 9