Запчасти Case 1121G (33.202.010) - BRAKE VALVE INSTALLATION (33) - BRAKES & CONTROLS

Схема запчастей Case 1121G - (33.202.010) - BRAKE VALVE INSTALLATION (33) - BRAKES & CONTROLS
3
11
9
4
7
10
5
6
1
8
2
FIT
1:1
100%

Артикул

Название

Примечание

Количество

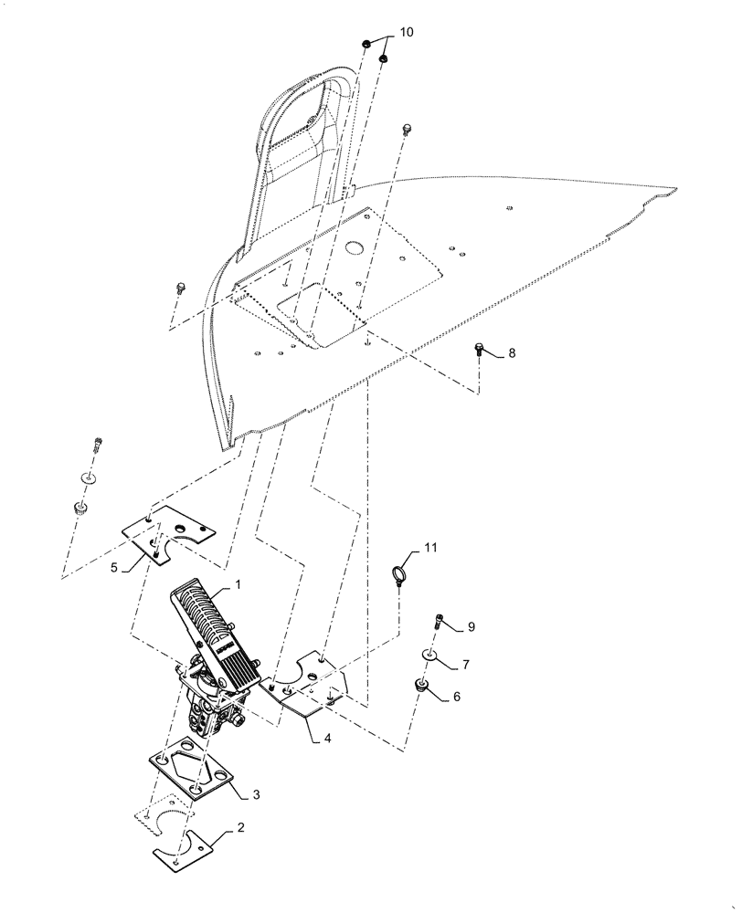
1

47914918

BRAKE VALVE

83 Bar

1шт.

2

47392803

MOUNTING PLATE

Brake Valve, Iso Mount

2шт.

3

47391808

GASKET

Brake Valve

1шт.

4

47388301

MOUNTING PLATE

Brake Valve, Rear

1шт.

5

47866006

PLATE

Mounting, Brake Valve, Front

1шт.

6

D52276

ISOLATOR,10.16mm ID x 28.07mm OD x mm L

4шт.

7

76303506

WASHER

4шт.

8

844-8020

BOLT,Hvy Hex, M8 x 20mm, Cl 8.8

4шт.

9

86625221

HEX SOC SCREW,M8 x 30mm, Cl 8.8

4шт.

10

825-5148

SERRATED NUT,M8, Flg Ser

2шт.

11

87668737

CABLE TIE,203.2mm L, Nylon, Black

1шт.

Выбрано товаров: 11