Качественные детали и логистика
Оригинальные и аналоговые запчасти с доставкой по России, Казахстану и Беларуси
©2022 PartSell ООО "Система" ИНН 2463123282 ОГРН 1212400004838
Центральный офис: г. Красноярск, Академика Киренского, д.87, пом.4
Телефон: 8 (800) 777-65-74 Email: zakaz@partsell.ru
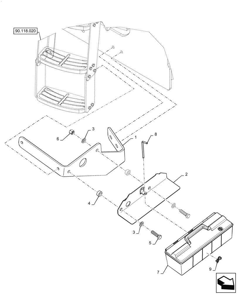
(88.100.90[01]) - VAR - 482141 - TOOL BOX INSTALLATION
№
Артикул
Название
Примечание
Количество
1
84535677
BRACKET
RH Steps W/ Tool Box,
1шт.
2
86025946
Tool Box
3
896-11016
WASHER,17.5mm ID x 30mm OD x 4mm Thk
4шт.
4
L125100
SPACER,17.48mm ID x 31.75mm OD x 14.3mm Thk
2шт.
5
627-16060
BOLT,Hex, M16 x 2 x 60mm, Cl 10.9, Full Thd
6
832-10416
NUT,M16 x 2, Cl 8
7
5135060
TOOL BOX
Plastic
8
5106675
PIN,6mm OD
9
A33497
LINCH PIN,4.76mm OD Pin
Выбрано товаров: 0