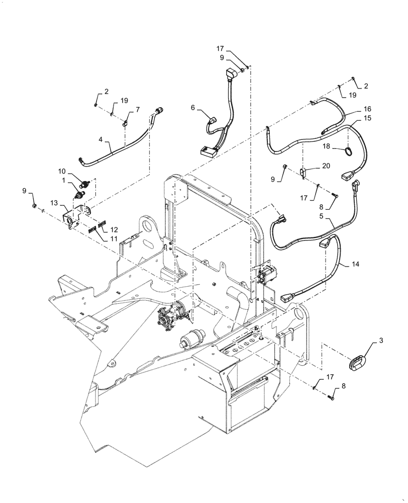
Запчасти Case 521G (55.302.030) - BATTERY CABLE INSTALLATION (55) - ELECTRICAL SYSTEMS

Схема запчастей Case 521G - (55.302.030) - BATTERY CABLE INSTALLATION (55) - ELECTRICAL SYSTEMS
13
9
6
1
17
19
15
5
4
17
20
8
14
10
17
9
19
2
2
9
3
11
8
18
7
12
16
FIT
1:1
100%

Артикул

Название

Примечание

Количество

1

1964554C1

TERMINAL

Jump Start Positive

1шт.

2

253347A1

NUT,Hex, M10 x 1.5

2шт.

3

398771A1

CONDUIT

Battery Cables

1шт.

4

47863688

CABLE

Ground to Negative

1шт.

5

NSS

NOT SOLD SEPARAT

1214mm L

1шт.

6

47974226

CABLE

Positive to Isolator and Jump

1шт.

7

515-23159

CLAMP,5/8", Insul, 3/8" Bolt

1шт.

8

627-10035

BOLT,Hex, M10 x 1.5 x 35mm, Cl 10.9, Full Thd

2шт.

9

832-10410

NUT,M10 x 1.5, Cl 8

5шт.

10

84258928

TERMINAL CONNECTOR

Jump Start Negative

1шт.

11

84405137

DECAL

24V Positive

1шт.

12

84405148

DECAL

24V Negative

1шт.

13

84477792

BRACKET

Jump Post

1шт.

14

84515861

CABLE

Battery Crossover

1шт.

15

84515863

NEG BATTERY CABLE

Battery Negative to Ground

1шт.

16

84515864

GROUND CABLE,567mm L

Engine Block Ground

1шт.

17

895-11010

WASHER,11mm ID x 20mm OD x 2mm Thk

7шт.

18

L11541

CABLE TIE,203.2mm L, Nylon

1шт.

19

L127554

WASHER,0.395" ID x 0.875" OD x 0.064" Thk

2шт.

20

R54363

CLAMP

1шт.

Выбрано товаров: 20