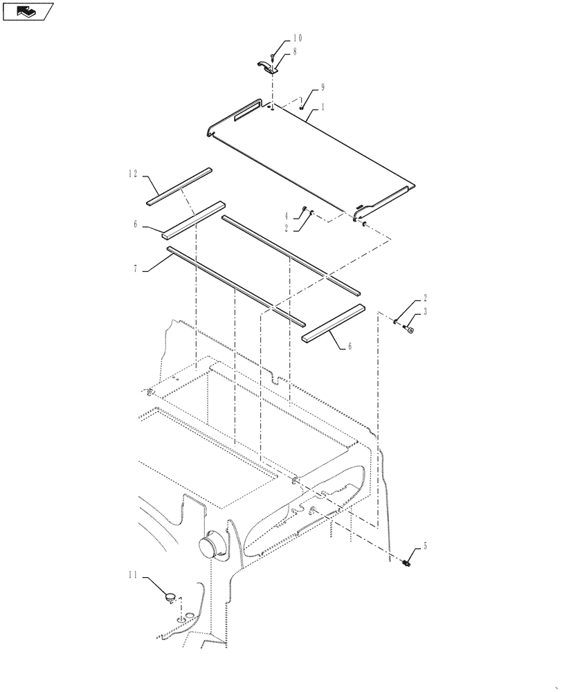
Запчасти Case 721G (35.300.040[01]) - VAR - 782439 - CAB W/O AIR CONDITIONING COVERS (35) - HYDRAULIC SYSTEMS

Схема запчастей Case 721G - (35.300.040[01]) - VAR - 782439 - CAB W/O AIR CONDITIONING COVERS (35) - HYDRAULIC SYSTEMS
5
2
12
6
7
10
6
11
4
2
8
3
1
9
FIT
1:1
100%

Артикул

Название

Примечание

Количество

1

84180094

PLATE

W/O Bracket For Gas Spring

1шт.

2

895-18010

WASHER,10.5mm ID x 18mm OD x 1.6mm Thk

6шт.

3

84591180

HEX SOC SCREW,M8 x 16mm, Cl 12.9

2шт.

4

832-10408

NUT,M8 x 1.25, Cl 8.8

2шт.

5

350662A1

STUD

2шт.

6

8602498

SEALING STRIP,25mm W x 294mm L x 13mm Thk

1шт.

7

8500133

OIL SEAL

Oil Cooler; Side

2шт.

8

60-4640T1

LATCH

1шт.

9

225-14108

NUT,#8-32

2шт.

10

440-1088

SCREW,Cross Pan Hd, #8-32 x 1/2"

2шт.

11

353-414

PLUG,Dome, 1.375" Hole, Nylon

2шт.

12

87432328

SEAL

1шт.

Выбрано товаров: 12