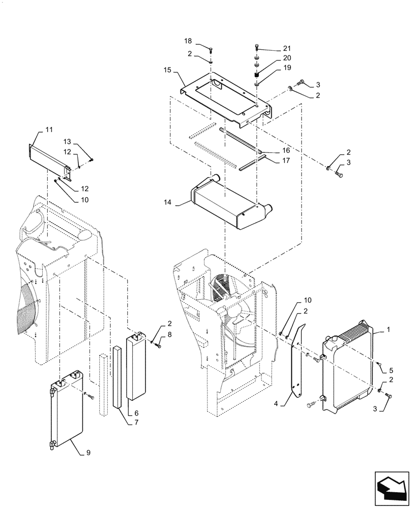
Запчасти Case 721G (10.400.010) - VAR - 482585, 782454 - COOLER INSTALLATION, STANDARD (10) - ENGINE

Схема запчастей Case 721G - (10.400.010) - VAR - 482585, 782454 - COOLER INSTALLATION, STANDARD (10) - ENGINE
11
5
21
9
20
2
14
15
7
2
3
3
2
2
18
8
18
17
12
13
4
16
1
6
10
12
2
10
3
2
19
FIT
1:1
100%

Артикул

Название

Примечание

Количество

1

84232364

RADIATOR

Engine

1шт.

2

892-11008

LOCK WASHER,8mm ID

Spring

18шт.

3

627-8030

BOLT,Hex, M8 x 1.25 x 30mm, Cl 10.9, Full Thd

11шт.

4

87324042

PLATE

Radiator Make-up

1шт.

5

217-402

PLUG,Hex Hd, 1/8" - 27 NPT

1шт.

6

8501296

OIL COOLER

Hydraulic

1шт.

7

8500206

SEALING STRIP,65mm W x 734mm L x 50mm Thk

Oil Cooler Foam

2шт.

8

627-8035

BOLT,Hex, M8 x 1.25 x 35mm, Cl 10.9, Full Thd

3шт.

9

8501295

OIL COOLER

Transmission

1шт.

10

832-10408

NUT,M8 x 1.25, Cl 8.8

5шт.

11

347615A3

FUEL COOLER

Fuel

1шт.

12

895-15008

WASHER,9mm ID x 20mm OD x 1.6mm Thk

4шт.

13

627-8020

BOLT,Hex, M8 x 1.25 x 20mm, Cl 10.9, Full Thd

2шт.

14

347613A1

AFTERCOOLER

Charge Air

1шт.

15

84227961

PLATE

Charge Air

1шт.

16

8500144

SEAL

Charge Air, Bulb

2шт.

17

8500143

FOAM INSULATION,9mm W x 290mm L x 3mm Thk

Charge Air, Foam

2шт.

18

627-8016

BOLT,Hex, M8 x 1.25 x 16mm, Cl 10.9, Full Thd

2шт.

19

895-15010

WASHER,11mm ID x 24mm OD x 2mm Thk

6шт.

20

386040R1

SPRING

Poppet Return

2шт.

21

84591180

HEX SOC SCREW,M8 x 16mm, Cl 12.9

2шт.

Выбрано товаров: 21