Запчасти Case 821G (27.100.010[01]) - VAR - 782122 - AXLE INSTALLATION STANDARD (27) - REAR AXLE SYSTEM

Схема запчастей Case 821G - (27.100.010[01]) - VAR - 782122 - AXLE INSTALLATION STANDARD (27) - REAR AXLE SYSTEM
16
18
7
23
11
13
2
4
21
5
10
10
21
19
11
24
25
14
17
10
3
6
11
18
1
3
12
15
20
4
22
17
9
8
5
19
12
FIT
1:1
100%

Артикул

Название

Примечание

Количество

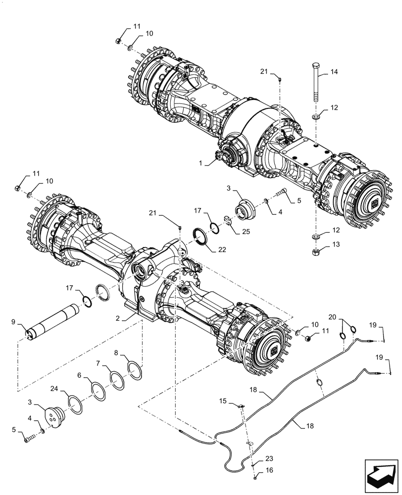
1

84240239

4WD AXLE ASSY

Front

1шт.

2

47893532

AXLE

Rear

1шт.

3

84215421

CAP

End

2шт.

4

896-11020

WASHER,22mm ID x 37mm OD x 4mm Thk

6шт.

5

863-20070

HEX SOC SCREW,M20 x 70mm, 12.9

6шт.

6

84215452

SHIM,122.5mm ID x 157mm OD x 0.5mm Thk

1шт.

7

84215453

SHIM,122.5mm ID x 157mm OD x 1mm Thk

1шт.

8

84215454

SHIM,122.5mm ID x 157mm OD x 1.5mm Thk

1шт.

9

47896768

PIN

Rear Axle Pivot

1шт.

10

896-11022

WASHER,24mm ID x 44mm OD x 4mm Thk

64шт.

11

514-1315

BOLT,Hex, M22 x 1.5 x 50mm, Cl 10.9

64шт.

12

896-11030

WASHER,33mm ID x 56mm OD x 5mm Thk

16шт.

13

829-1430

NUT,M30, Cl 10

8шт.

14

86541421

BOLT,Hex, M30 x 140mm, Cl 10.9

8шт.

15

515-2495

CLAMP,3/8", Insul, 7/16" Bolt

2шт.

16

832-10410

NUT,M10 x 1.5, Cl 8

1шт.

17

238-5235

O-RING,0.139" Thk x 3.109" ID, -235, Cl 5, 75 Duro

2шт.

18

84258672

HOSE ASSY.,4.83mm ID x 2174mm L

Grease Axle Bushing

2шт.

19

F53473

LOCK NUT,1/8-27 NPSM

2шт.

20

L11541

CABLE TIE,203.2mm L, Nylon

3шт.

21

47566244

BREATHER

Valve

2шт.

22

84477329

SEAL,109.4mm ID x 137.2mm OD x 14.5mm Thk

Grease

2шт.

23

895-11010

WASHER,11mm ID x 20mm OD x 2mm Thk

1шт.

24

47898476

SHIM

1шт.

25

48079456

SHIM

1шт.

Выбрано товаров: 25